EasyManua.ls Logo

Cmsemicon CMS32L051 - Page 157

Default Icon
703 pages
Print Icon
To Next Page IconTo Next Page
To Next Page IconTo Next Page
To Previous Page IconTo Previous Page
To Previous Page IconTo Previous Page
Loading...
V1.2.2
CMS32L051 User Manual |Chapter 5 Universal Timer Unit (Timer4)
www.mcu.com.cn 157 / 703
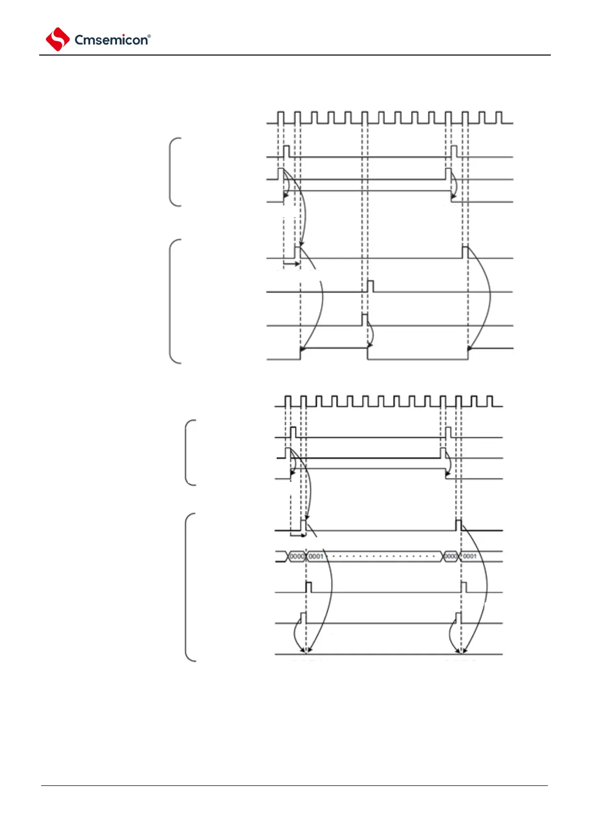
Figure 5-36 Reset/set timing operation status
(1)
Basic operation timing
master channel
slave channel
internal reset signal
TOmn Pin/TOmn
swap
internal reset signal
delay 1 clock cycle
internal reset signal
TOmp Pin/TOmp
reset
reset
reset
swap
INTTMmp
INTTMmn
f
TCLK
(2) 0% duty cycle operation timing
master control channel
slave channel
internal reset signal
TOmn Pin/TOmn
swap swap
delay 1 clock cycle
internal reset signal
internal reset signal
TOmp Pin/TOmp
reset
reset
reset
reset
proritized reset proritized reset
INTTMmp
INTTMmn
f
TCLK
TCRmp
Note 1 Internal reset signal: A reset/alternating signal on the TOmn pin
Internal set signal: The set signal of the TOmn pin
2.m: Unit number (m=0,1) n: channel number n=0~3(Master channel: n=0, 2)
p: The slave channel number
n=0p=1, 2, 3
n=2p=3

Table of Contents

Related product manuals