EasyManua.ls Logo

Boeing 737-600 - Page 2231

Boeing 737-600
2300 pages
Print Icon
To Next Page IconTo Next Page
To Next Page IconTo Next Page
To Previous Page IconTo Previous Page
To Previous Page IconTo Previous Page
Loading...
D11288P
D11286P
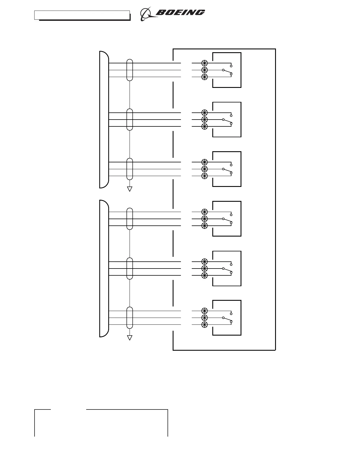
M1824 START BRAKE ASSEMBLY
(ENGINE 1)
S595 START LEVER
S1025 START LEVER
S89 RIGHT IGN
S1026 FUEL HPSOV
S1024 START LEVER
S88 LEFT IGN
IDLE
NC
C
NO
CUTOFF
CUTOFF
C
NC
NO
IDLE
NC
C
NO
CUTOFF
IDLE
CH A
IDLE
C
NC
NO
CUTOFF
IDLE
CUTOFF
C
NC
NO
CUTOFF
C
NC
NO
IDLE
SPAR
CH B
BLU
RED
YEL
BLU
RED
YEL
8
9
7
BLU
RED
YEL
5
15
4
BLU
RED
YEL
12
11
13
5
15
4
RED
YEL
BLU12
11
13
BLU
RED
YEL
8
9
7
L41264 S0006583154_V2
Start Brake Assembly Wiring Diagram
Figure 403/76-11-11-990-804-F00 (Sheet 1 of 2)
737-600/700/800/900
AIRCRAFT MAINTENANCE MANUAL
CFM56 ENGINES (CFM56-7)
76-11-11
Page 408
D633A101-ILF Jun 15/2019
ECCN 9E991 BOEING PROPRIETARY - Copyright © Unpublished Work - See title page for details
EFFECTIVITY
ILF 101, 151, 156-199, 301, 304, 308, 310, 314, 315, 317-319, 323, 331-399, 401,
402, 405, 406, 409, 410, 412, 416, 424, 425, 427-429, 451, 452, 491-504, 507-510,
512-516, 518-520, 523-528, 530-533, 535-537, 541, 542, 552-557, 559-564,
567-569, 571-577, 581, 583, 585, 588-590, 592-599, 601-603, 606, 607, 610-615,
620, 671, 672, 686, 691-699, 703, 707-710, 803-813, 821, 822, 831-834, 836, 837,
841, 842, 851, 852, 854-858, 861-863, 871-874, 947, 948, 968-973, 980-999

Table of Contents

Related product manuals