EasyManua.ls Logo

Boeing 737-600 - Page 2232

Boeing 737-600
2300 pages
Print Icon
To Next Page IconTo Next Page
To Next Page IconTo Next Page
To Previous Page IconTo Previous Page
To Previous Page IconTo Previous Page
Loading...
D11292P
D11290P
CH B
M1825 START BRAKE ASSEMBLY
(ENGINE 2)
SPAR
S596 START LEVER
IDLE
NO
NC
C
CUTOFF
S91 RIGHT IGN
NO
NC
C
CUTOFF
IDLE
CUTOFF
NO
NC
C
IDLE
S90 LEFT IGN
CH A
S1027 START LEVER
IDLE
CUTOFF
NO
C
NC
IDLE
NO
NC
C
CUTOFF
S1029 FUEL HPSOV
CUTOFF
NO
C
NC
IDLE
S1028 START LEVER
7
9
8
YEL
RED
BLU
13
11
12 BLU
YEL
RED
4
15
5
13
11
12
YEL
RED
BLU
4
15
5
YEL
RED
BLU
7
9
8
YEL
RED
BLU
YEL
RED
BLU
L41263 S0006583155_V2
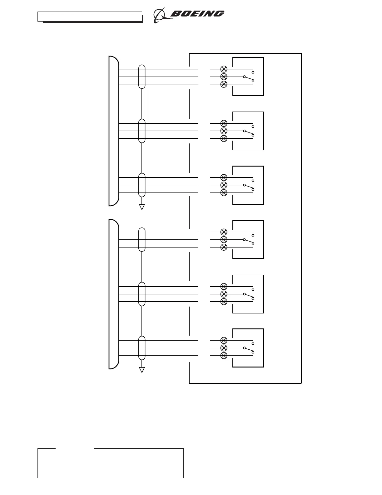
Start Brake Assembly Wiring Diagram
Figure 403/76-11-11-990-804-F00 (Sheet 2 of 2)
737-600/700/800/900
AIRCRAFT MAINTENANCE MANUAL
CFM56 ENGINES (CFM56-7)
76-11-11
Page 409
D633A101-ILF Jun 15/2019
ECCN 9E991 BOEING PROPRIETARY - Copyright © Unpublished Work - See title page for details
EFFECTIVITY
ILF 101, 151, 156-199, 301, 304, 308, 310, 314, 315, 317-319, 323, 331-399, 401,
402, 405, 406, 409, 410, 412, 416, 424, 425, 427-429, 451, 452, 491-504, 507-510,
512-516, 518-520, 523-528, 530-533, 535-537, 541, 542, 552-557, 559-564,
567-569, 571-577, 581, 583, 585, 588-590, 592-599, 601-603, 606, 607, 610-615,
620, 671, 672, 686, 691-699, 703, 707-710, 803-813, 821, 822, 831-834, 836, 837,
841, 842, 851, 852, 854-858, 861-863, 871-874, 947, 948, 968-973, 980-999

Table of Contents

Related product manuals