EasyManua.ls Logo

Sharp LH79524 - Figure 1-1. LH79524;LH79525 Block Diagram

Sharp LH79524
555 pages
Print Icon
To Next Page IconTo Next Page
To Next Page IconTo Next Page
To Previous Page IconTo Previous Page
To Previous Page IconTo Previous Page
Loading...
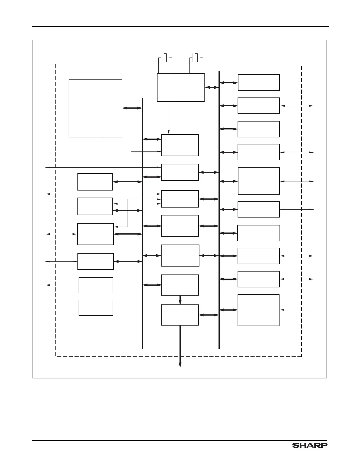
Overview LH79524/LH79525 User’s Guide
1-2 Version 1.0
Figure 1-1. LH79524/LH79525 Block Diagram
LH79525-1
OSCILLATOR,
PLL(2), POWER
MANAGEMENT, and
RESET CONTROL
VECTORED
INTERRUPT
CONTROLLER
CONDITIONED
EXTERNAL
INTERRUPTS
INTERNAL
INTERRUPTS
CACHE
INTERNAL
16KB SRAM
ETHERNET
MAC
LINEAR
REGULATOR
TEST
SUPPORT
10 - 20 MHz 32.768 kHz
REAL TIME
CLOCK
COLOR
LCD
CONTROLLER
EXTERNAL
MEMORY
CONTROLLER
ADVANCED
PERIPHERAL
BUS BRIDGE
ADVANCED HIGH
PERFORMANCE
BUS (AHB)
ADVANCED
PERPHERAL
BUS (APB)
BOOT
ROM
ADVANCED
LCD
INTERFACE
4 CHANNEL
DMA
CONTROLLER
BOOT
CONTROLLER
GENERAL
PURPOSE I/O
I/O
CONFIGURATION
SYNCHRONOUS
SERIAL PORT
COUNTER/
TIMER (3)
WATCHDOG
TIMER
I
2
C
10 CHANNEL
10-BIT ADC
(WITH TSC and
BROWNOUT
DETECTOR)
USB
DEVICE
16550
UART (3) w/SIR
ARM720T
SSP - I
2
S
CONVERTER
(WITH CODEC
INTERFACE)
LH79524/ LH79525

Table of Contents

Related product manuals