EasyManua.ls Logo

NEC Univerge SV9100 - Figure 5-113 Attach WM-L UNIT to Wall Plate; Figure 5-114 Plugging in Line Cord

NEC Univerge SV9100
740 pages
To Next Page IconTo Next Page
To Next Page IconTo Next Page
To Previous Page IconTo Previous Page
To Previous Page IconTo Previous Page
Loading...
Issue 3.0
5-98 Installing DT Series Digital and IP Multiline Terminals
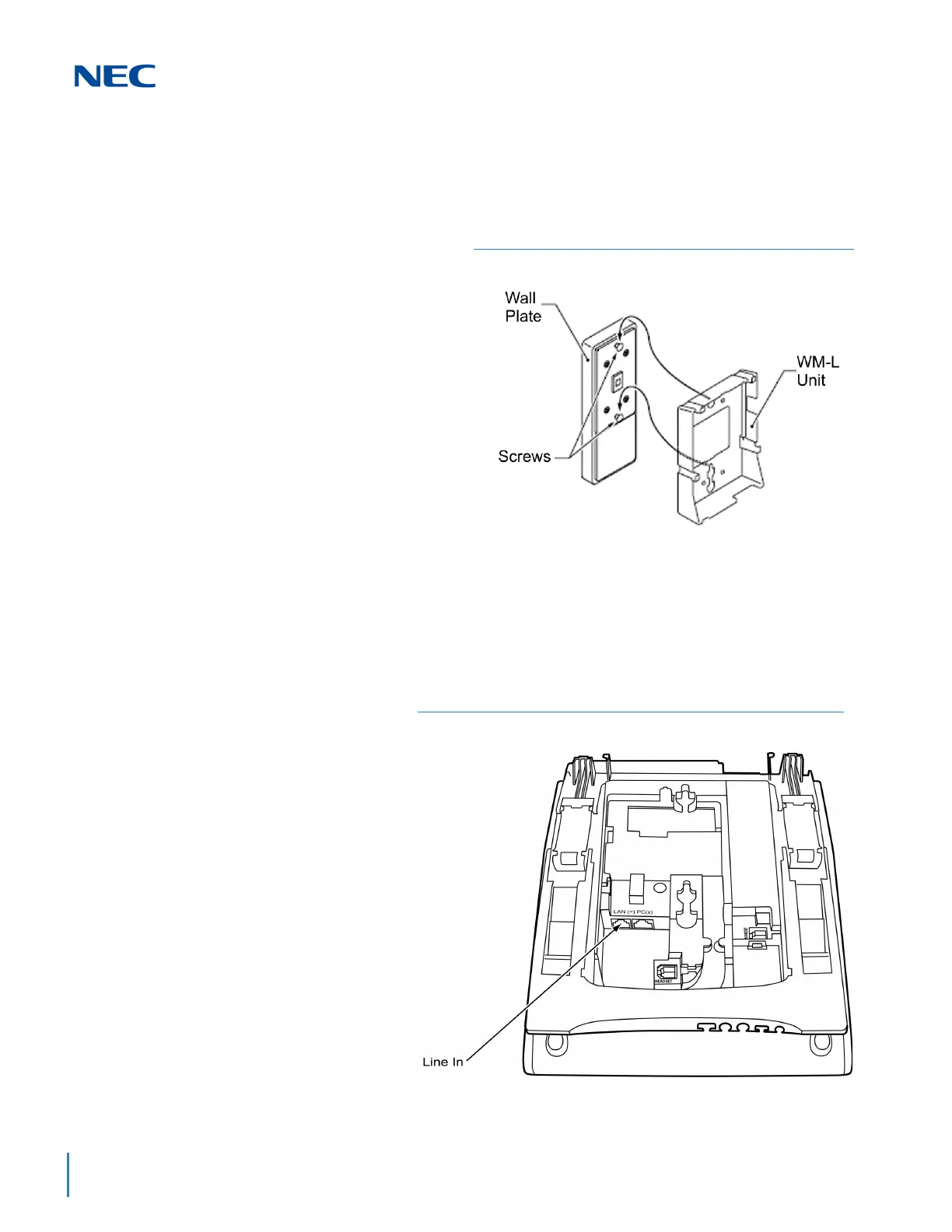
5.2.13.2 Mount Multiline Terminal on Wall Plate using WM-L
UNIT
1. Locate the screw holes on the base and hang the cover over
the screws on the wall plate as illustrated in Figure 5-113
Attach WM-L UNIT to Wall Plate.
Because of variation in wall plates, this method is not
recommended.
2. Plug one end of the line cord into the wall receptacle. Leave
about eight inches of cord and bundle the rest.
3. Plug the opposite end of the line cord into the multiline
terminal as illustrated in Figure 5-114 Plugging in Line Cord.
Figure 5-113 Attach WM-L UNIT to Wall Plate
Figure 5-114 Plugging in Line Cord

Table of Contents

Other manuals for NEC Univerge SV9100

Related product manuals