EasyManua.ls Logo

Leader LV5300A - Before You Begin Measuring; Precautions When Installing the ZEN Series

Leader LV5300A
573 pages
Print Icon
To Next Page IconTo Next Page
To Next Page IconTo Next Page
To Previous Page IconTo Previous Page
To Previous Page IconTo Previous Page
Loading...
5. BEFORE YOU BEGIN MEASURING
58
5. BEFORE YOU BEGIN MEASURING
5.1 Precautions When Installing the ZEN series
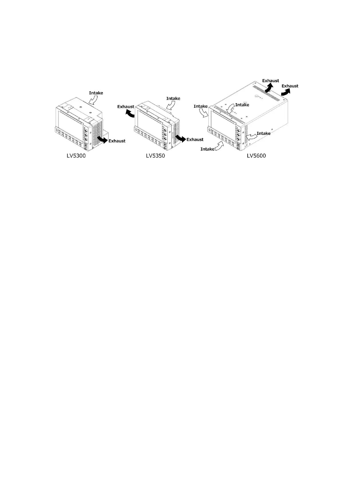
The ZEN series WAVEFORM MONITORs have intake and exhaust ports for ventilation.
The intake ports and exhaust ports of each model are shown below.
Taking precautions the following when installing the ZEN series.
When installing, don’t block the ventilation ports.
If there is a wall near the ventilation port, make a ventilation hole on the wall.

Table of Contents

Other manuals for Leader LV5300A

Related product manuals