EasyManua.ls Logo

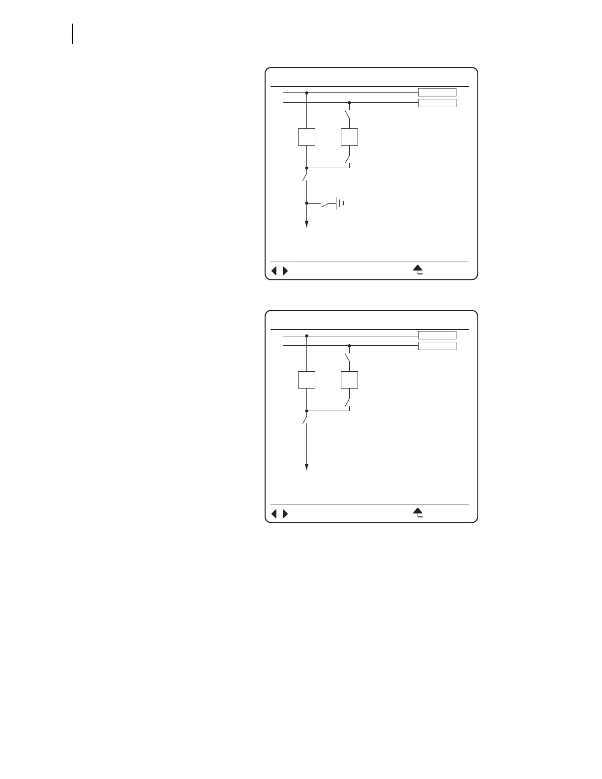
Sel 411L - Figure 12.50 Right Breaker Bay with Ground Switch (Option 21); Figure 12.51 Right Breaker Bay Without Ground Switch (Option 22)

Sel 411L
1108 pages
Print Icon
To Next Page IconTo Next Page
To Next Page IconTo Next Page
To Previous Page IconTo Previous Page
To Previous Page IconTo Previous Page
Loading...
P.12.48
SEL-411L Relay Protection Manual Date Code 20151029
Bay Control
Predefined Bay Control One-Line Diagrams
Figure 12.50 Right Breaker Bay With Ground Switch (Option 21)
Figure 12.51 Right Breaker Bay Without Ground Switch (Option 22)
BAYNAME
BUSNAM1
ESCNAVIG
BUSNAM2
SW3
SW2
BK1BK2
SW1
AQ_1
AQ_2
AQ_3
AQ_4
AQ_5
AQ_6
SW4
BAYNAME
BUSNAM1
ESCNAVIG
BUSNAM2
SW3
SW2
BK1BK2
SW1
AQ_1
AQ_2
AQ_3
AQ_4
AQ_5
AQ_6

Table of Contents

Related product manuals