EasyManua.ls Logo

Ricoh D014 - 1 Replacement and Adjustment; Covers; Exterior Covers

Ricoh D014
1622 pages
Print Icon
To Next Page IconTo Next Page
To Next Page IconTo Next Page
To Previous Page IconTo Previous Page
To Previous Page IconTo Previous Page
Loading...
Covers
SM 1 B804/B805/D373/D374
Booklet
Finisher/
Finisher
B804/B805/
D373/D374
1. REPLACEMENT AND ADJUSTMENT
1.1 COVERS
1.1.1 EXTERIOR COVERS
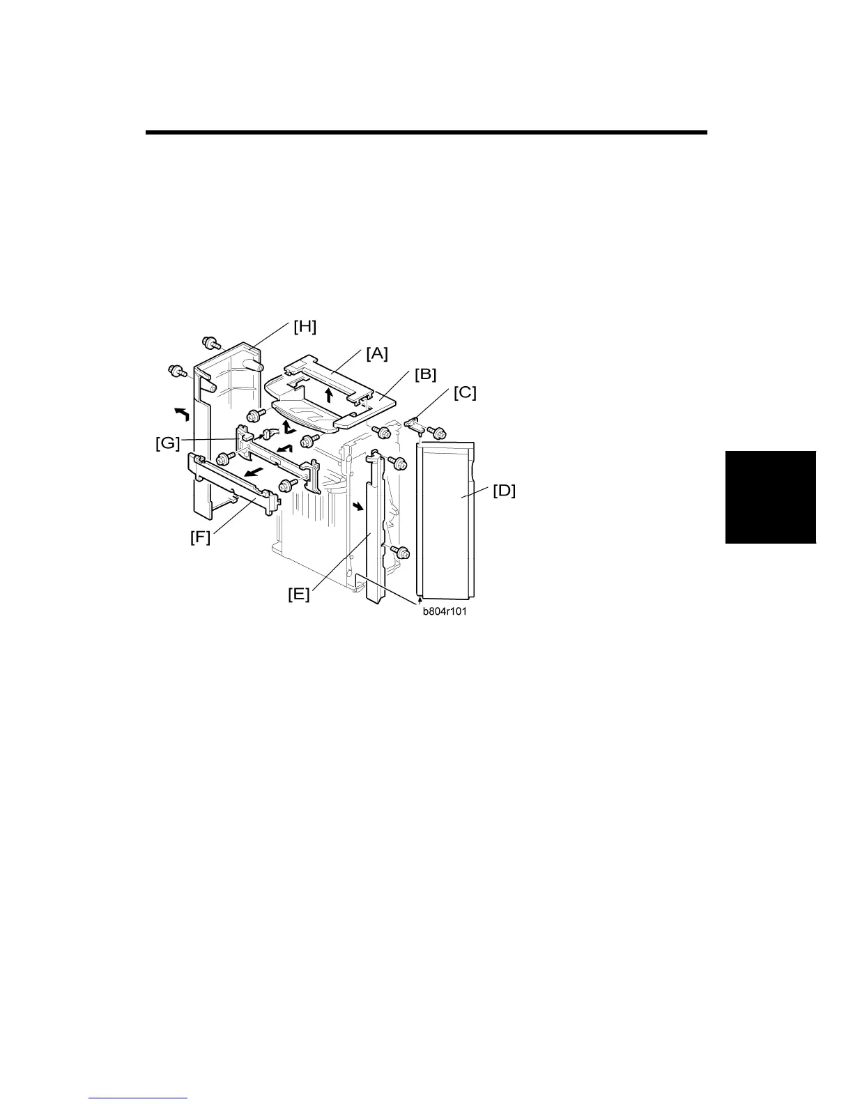
1. Open the front door [D].
2. Small upper cover [A] ( x1)
3. Upper cover [B] ( x2)
4. Front door bracket [C] ( x1)
5. Front door [D]
6. Front left side cover [E] ( x2)
7. Cover [F]
8. Paper exit cover [G] ( x2)
9. Rear cover [H] ( x2)
CÓPIA NÃO CONTROLADA
CÓPIA NÃO CONTROLADA

Table of Contents

Related product manuals