EasyManua.ls Logo

Ricoh D014 - Punch Mechanisms

Ricoh D014
1622 pages
Print Icon
To Next Page IconTo Next Page
To Next Page IconTo Next Page
To Previous Page IconTo Previous Page
To Previous Page IconTo Previous Page
Loading...
Punch Unit B702 (For B804/B805)
SM 67 B804/B805/D373/D374
Booklet
Finisher/
Finisher
B804/B805/
D373/D374
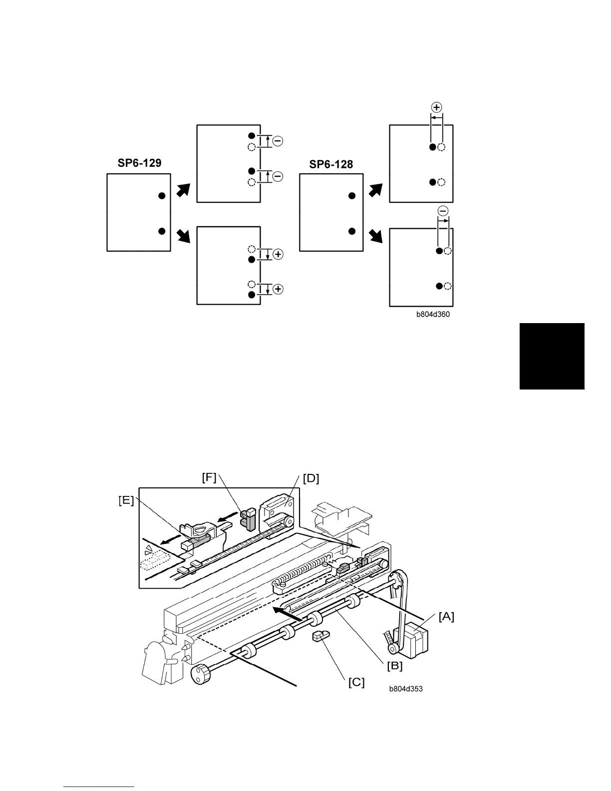
These SP codes adjust the punch hole alignment:
SP6-128 Adjusts the punch positions in the direction of paper feed.
SP6-129 Adjusts the punch position perpendicular to the direction of feed.
For more, see Section "Service Tables".
2.8.2 PUNCH MECHANISMS
Paper Position Detection
CÓPIA NÃO CONTROLADA
CÓPIA NÃO CONTROLADA

Table of Contents

Related product manuals