EasyManua.ls Logo

Ricoh D014 - Operation Panel, Top Covers

Ricoh D014
1622 pages
Print Icon
To Next Page IconTo Next Page
To Next Page IconTo Next Page
To Previous Page IconTo Previous Page
To Previous Page IconTo Previous Page
Loading...
Common Procedures
SM 3-7 D014/D015/D078/D079
Replacement
Adjustment
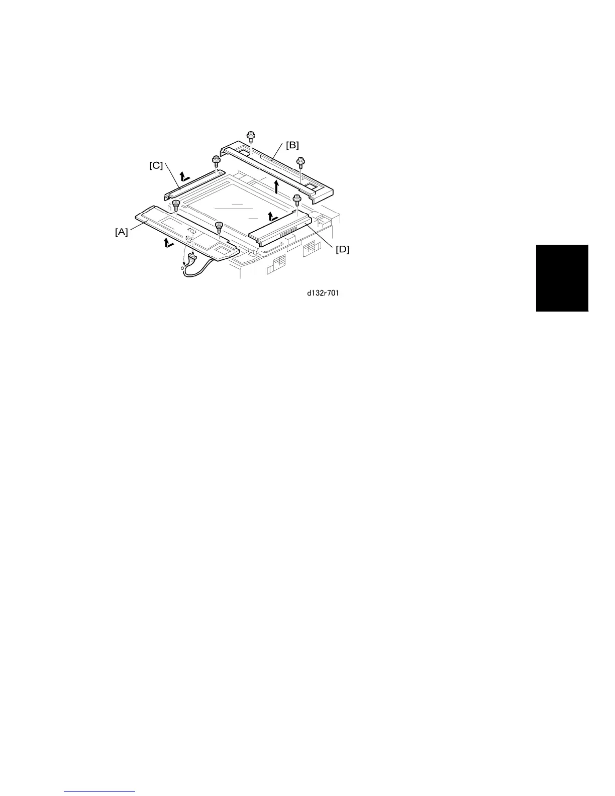
3.2.2 OPERATION PANEL, TOP COVERS
1. Remove the ARDF (x1, x2).
2. Open the front door.
3. Remove:
[A]: Operation panel ( x1, x2)
[B]: Top rear cover ( x2)
[C]: Left top cover ( x1)
[D]: Right top cover ( x1)
CÓPIA NÃO CONTROLADA
CÓPIA NÃO CONTROLADA

Table of Contents

Related product manuals