EasyManua.ls Logo

Ricoh D014 - Positioning Roller

Ricoh D014
1622 pages
Print Icon
To Next Page IconTo Next Page
To Next Page IconTo Next Page
To Previous Page IconTo Previous Page
To Previous Page IconTo Previous Page
Loading...
Stapler Unit
SM 9 B804/B805/D373/D374
Booklet
Finisher/
Finisher
B804/B805/
D373/D374
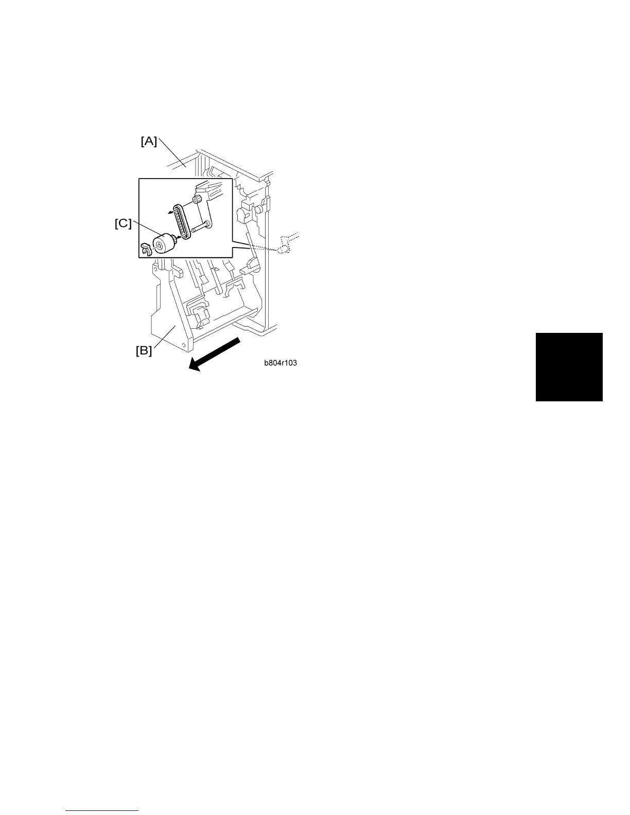
1.3.2 POSITIONING ROLLER
1. Open the front door [A].
2. Pull out the stapling unit [B].
3. Positioning roller [C] ( x1, timing belt x1)
CÓPIA NÃO CONTROLADA
CÓPIA NÃO CONTROLADA

Table of Contents

Related product manuals