EasyManua.ls Logo

Ricoh D014 - Junction Gates; Proof Mode; Shift Mode

Ricoh D014
1622 pages
Print Icon
To Next Page IconTo Next Page
To Next Page IconTo Next Page
To Previous Page IconTo Previous Page
To Previous Page IconTo Previous Page
Loading...
Junction Gates
B804/B805/D373/D374 40 SM
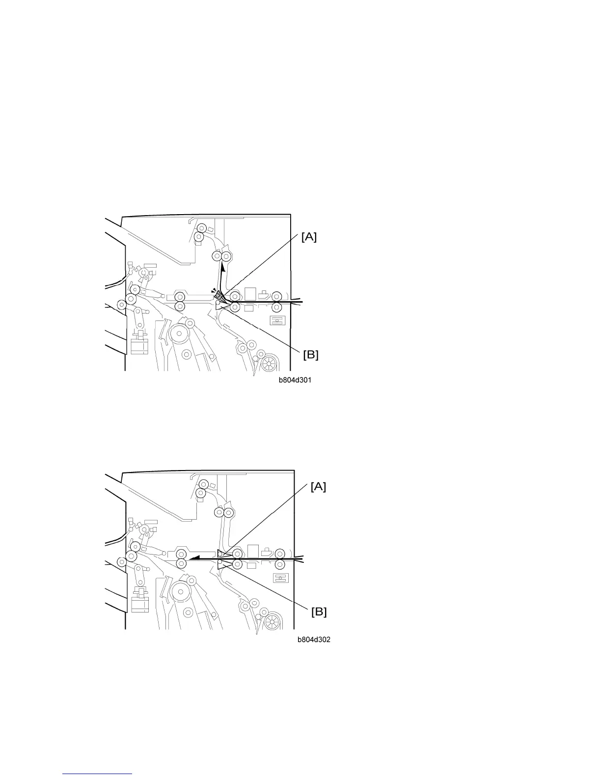
2.2 JUNCTION GATES
The positions of the proof tray and staple tray junction gates determine the direction of paper
feed after paper enters the finisher.
2.2.1 PROOF MODE
Proof tray junction gate [A] opens. Staple tray junction gate [B] remains closed.
The proof tray junction gate directs paper to the proof tray above.
2.2.2 SHIFT MODE
Proof tray junction gate [A] remains closed. Staple tray junction gate [B] remains closed.
With both junction gates closed, the paper goes to the upper tray.
CÓPIA NÃO CONTROLADA
CÓPIA NÃO CONTROLADA

Table of Contents

Related product manuals