EasyManua.ls Logo

Ricoh D014 - Proof Tray Full Sensor

Ricoh D014
1622 pages
Print Icon
To Next Page IconTo Next Page
To Next Page IconTo Next Page
To Previous Page IconTo Previous Page
To Previous Page IconTo Previous Page
Loading...
Main Unit
B804/B805/D373/D374 6 SM
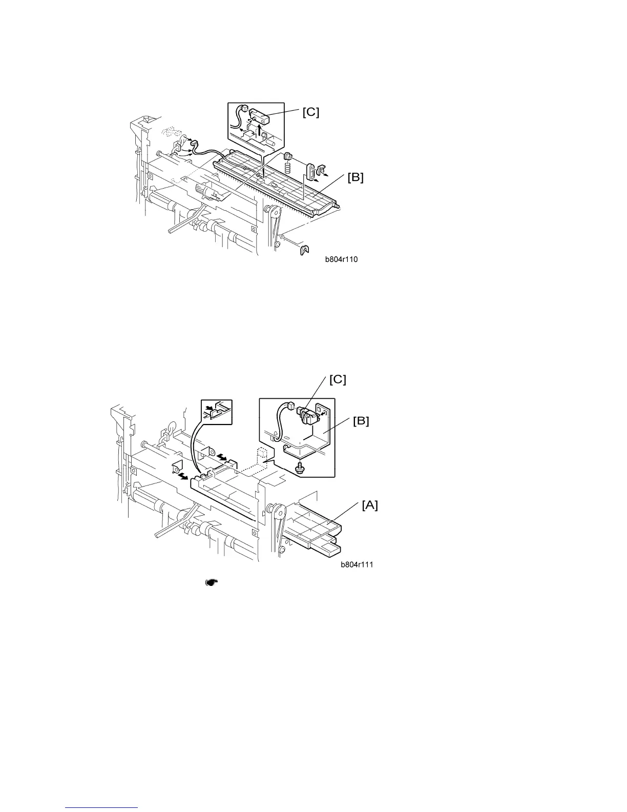
3. Exit guide plate [B] ( x1, Link and spring, x1, x1)
4. Upper tray exit sensor [C] (S6) ( x1)
1.2.6 PROOF TRAY FULL SENSOR
1. Exit guide plate. (
1.2.5 "Exit Guide Plate, Upper Tray Exit Sensor")
2. Guide plate [A] (hook x 2)
3. Sensor bracket [B] ( x1)
4. Proof tray full sensor [C] (S11) ( x1)
CÓPIA NÃO CONTROLADA
CÓPIA NÃO CONTROLADA

Table of Contents

Related product manuals