EasyManua.ls Logo

Ricoh D014 - Left Covers

Ricoh D014
1622 pages
Print Icon
To Next Page IconTo Next Page
To Next Page IconTo Next Page
To Previous Page IconTo Previous Page
To Previous Page IconTo Previous Page
Loading...
Common Procedures
D014/D015/D078/D079 3-8 SM
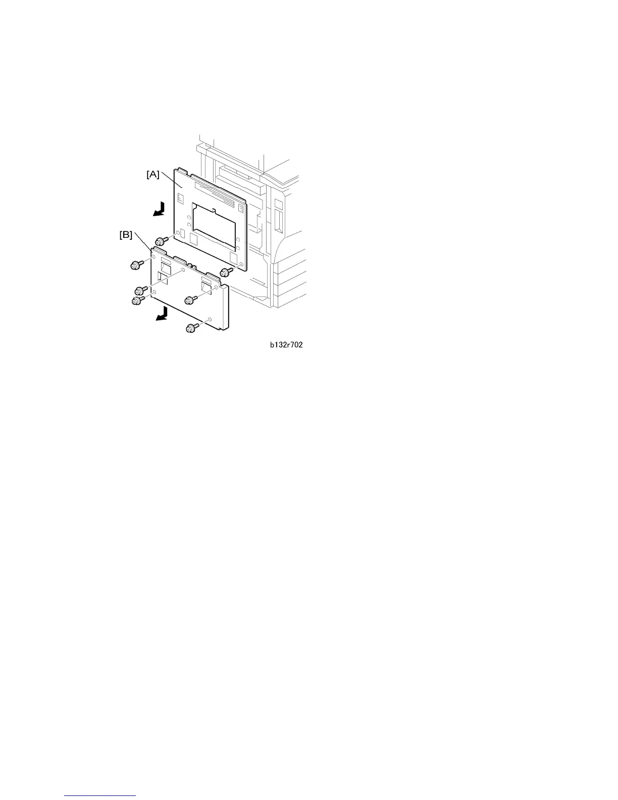
3.2.3 LEFT COVERS
1. If a finisher is connected:
Disconnect the finisher.
Remove the front and back finisher connection brackets.
2. Remove:
[A]: Left upper cover ( x2)
[B]: Left lower cover ( x5)
Reinstallation
Make sure all cover tabs are inserted correctly before you fasten the screws.
CÓPIA NÃO CONTROLADA
CÓPIA NÃO CONTROLADA

Table of Contents

Related product manuals