EasyManua.ls Logo

Ricoh D014 - Right Covers

Ricoh D014
1622 pages
Print Icon
To Next Page IconTo Next Page
To Next Page IconTo Next Page
To Previous Page IconTo Previous Page
To Previous Page IconTo Previous Page
Loading...
Common Procedures
D014/D015/D078/D079 3-10 SM
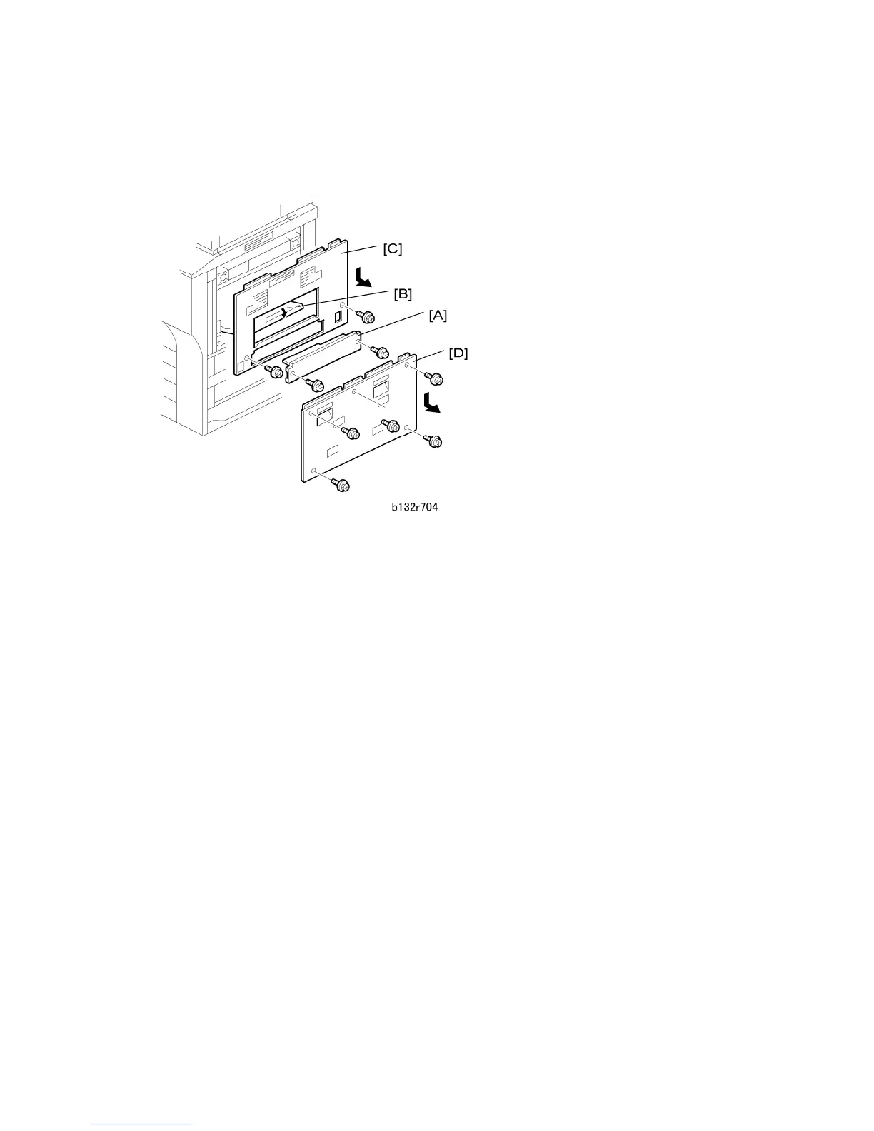
3.2.5 RIGHT COVERS
1. Disconnect and separate the LCT if it is installed.
2. Remove:
[A]: Knockout ( x2).
This has been removed already if the LCT has been installed.
[B]: Open the bypass tray.
[C]: Right upper cover ( x2).
Pull the bottom of the cover down and toward you as you remove it.
[D]: Right lower cover ( x5).
Pull the bottom of the cover down and toward you as you remove it.
Reinstallation
Make sure all the cover tabs are inserted correctly before you fasten the screws.
CÓPIA NÃO CONTROLADA
CÓPIA NÃO CONTROLADA

Table of Contents

Related product manuals