EasyManua.ls Logo

Ricoh D014 - Staple Mode

Ricoh D014
1622 pages
Print Icon
To Next Page IconTo Next Page
To Next Page IconTo Next Page
To Previous Page IconTo Previous Page
To Previous Page IconTo Previous Page
Loading...
Junction Gates
SM 41 B804/B805/D373/D374
Booklet
Finisher/
Finisher
B804/B805/
D373/D374
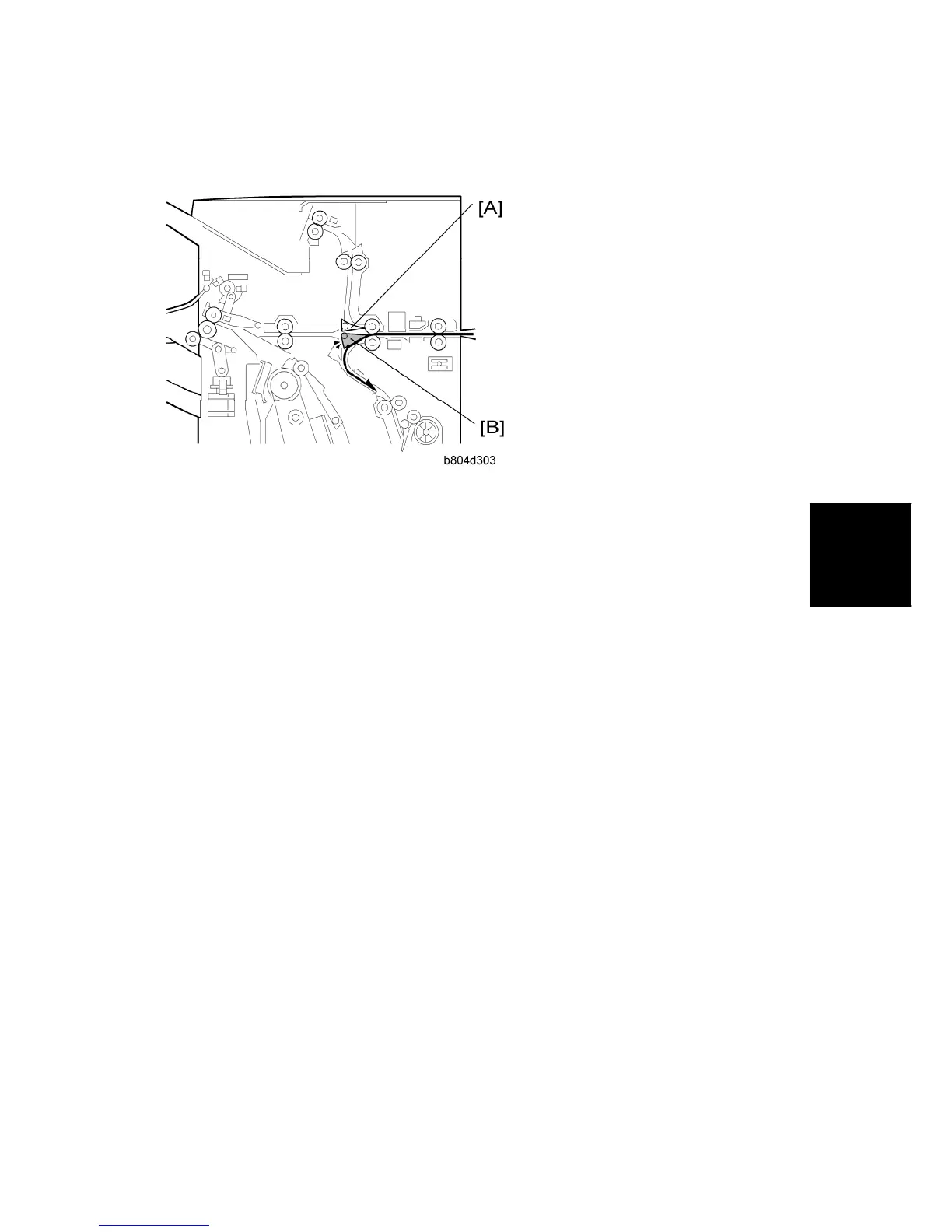
2.2.3 STAPLE MODE
Proof tray junction gate [A] remains closed. Staple tray junction gate [B] opens
The staple tray junction gate directs the paper to the staple tray below for jogging and
stapling.
CÓPIA NÃO CONTROLADA
CÓPIA NÃO CONTROLADA

Table of Contents

Related product manuals