EasyManua.ls Logo

Ricoh D014 - Booklet Stapling and Folding Mechanisms

Ricoh D014
1622 pages
Print Icon
To Next Page IconTo Next Page
To Next Page IconTo Next Page
To Previous Page IconTo Previous Page
To Previous Page IconTo Previous Page
Loading...
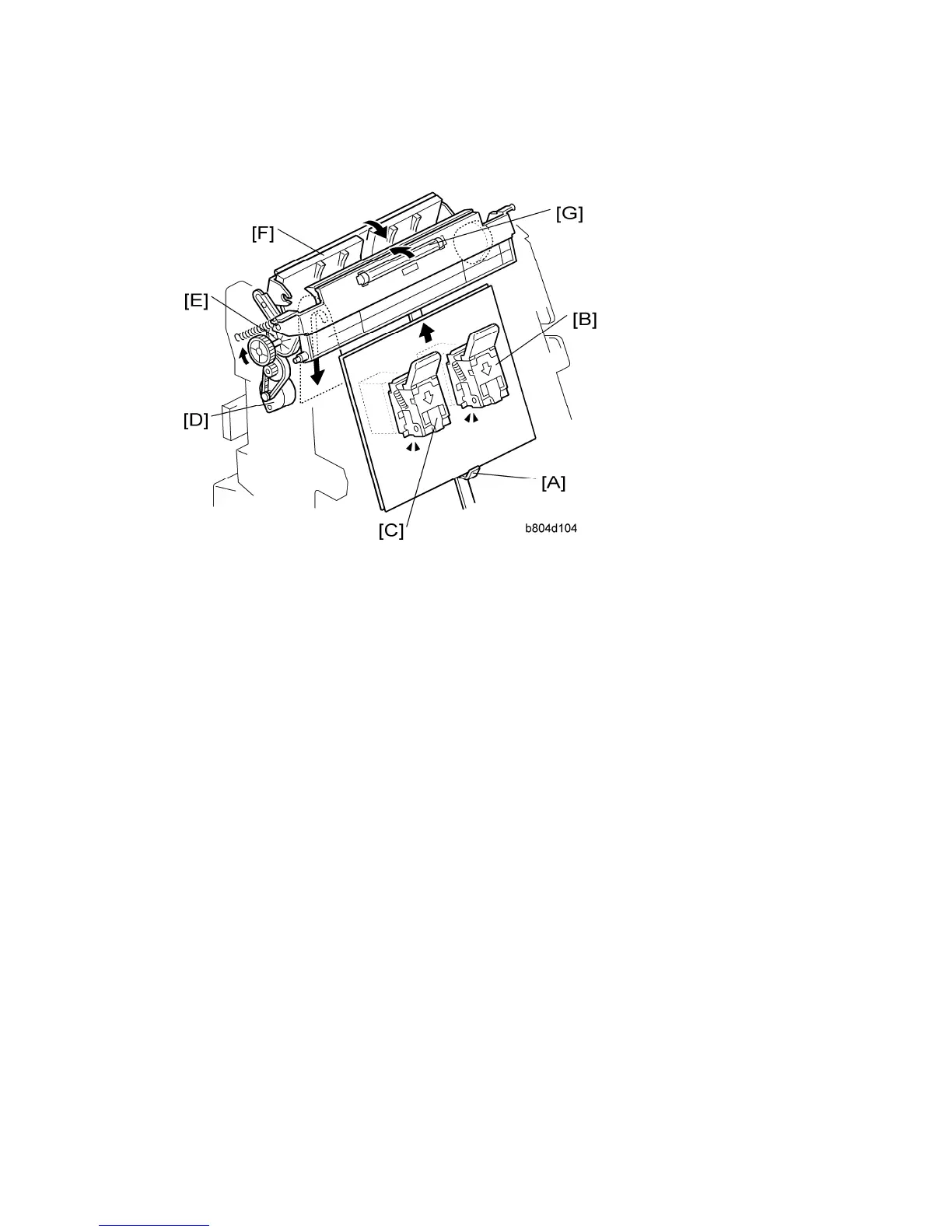
Booklet Stapling (B804 Only)
B804/B805/D373/D374 60 SM
2.6.3 BOOKLET STAPLING AND FOLDING MECHANISMS
Booklet Stapler
[A]: Feed Out Belt Pawl. Raises the stack to stapling position.
[B]: Booklet Stapler EH185R – Rear
[C]: Booklet Stapler EH185R – Front
Stack Junction Gate
[D]: Stack Junction Gate Motor. Drives a timing belt and stack junction gate cam.
[E]: Stack Junction Gate Cam. Opens and closes the stack junction gate.
[F]: Stack Junction Gate. The stack junction gate motor and stack junction gate cam close
the stack junction gate. The feed out belt pawl raises the stapled stack and sends it over the
top and down to the fold unit.
[G]: Leading Edge Pressure Roller. Presses down on the leading edge of the stack after
booklet stapling.
CÓPIA NÃO CONTROLADA
CÓPIA NÃO CONTROLADA

Table of Contents

Related product manuals