EasyManua.ls Logo

Ricoh D014 - Page 1254

Ricoh D014
1622 pages
Print Icon
To Next Page IconTo Next Page
To Next Page IconTo Next Page
To Previous Page IconTo Previous Page
To Previous Page IconTo Previous Page
Loading...
Booklet Stapling (B804 Only)
SM 61 B804/B805/D373/D374
Booklet
Finisher/
Finisher
B804/B805/
D373/D374
[H]
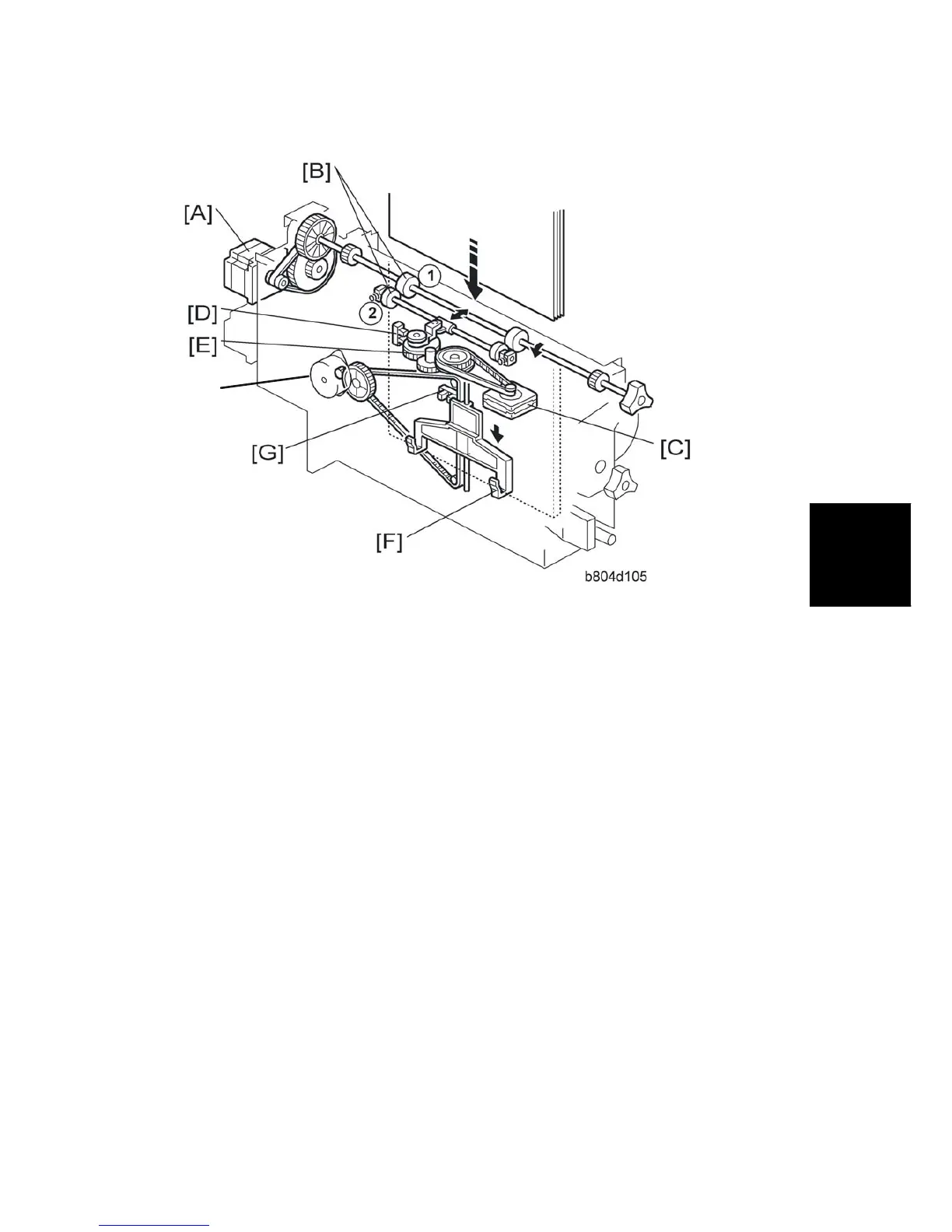
Clamp Roller
[A]: Fold Roller Motor. Drives the stationary clamp drive roller { as well as the fold rollers
(see next page).
[B]: Clamp Rollers.
{ Clamp Roller – Drive. Rotated by the fold roller motor, this stationary roller feeds the stack
down with the retracting roller closed.
| Clamp Roller – Retracting. Opened and closed by the retraction motor [C].
[C]: Clamp Roller Retraction Motor. Operates the clamp roller cam that retracts the retracting
clamp roller. The clamp rollers feed the stack to within 3 mm of the bottom fence when
closed and then open to drop the stack onto the bottom fence.
[D]: Clamp Roller HP Sensor. Controls the rotation of the clamp roller retraction motor and
cam that open and close the retracting clamp roller.
[E]: Clamp Roller Cam. Forces open the spring loaded retracting clamp roller.
Bottom Fence
[F]: Bottom Fence. Raises the booklet stapled stack to the fold position.
[G]: Bottom Fence HP Sensor. Detects the actuator on the bottom fence and stops it at the
home position after folding.
[H]: Bottom Fence Lift Motor. Raises the bottom fence and stapled stack to the fold position
prescribed for the paper size.
CÓPIA NÃO CONTROLADA
CÓPIA NÃO CONTROLADA

Table of Contents

Related product manuals