EasyManua.ls Logo

Ricoh D014 - Page 1380

Ricoh D014
1622 pages
Print Icon
To Next Page IconTo Next Page
To Next Page IconTo Next Page
To Previous Page IconTo Previous Page
To Previous Page IconTo Previous Page
Loading...
Paper Handling
SM 21 D350
D350
RT4000
A3/12 x 18
LCT
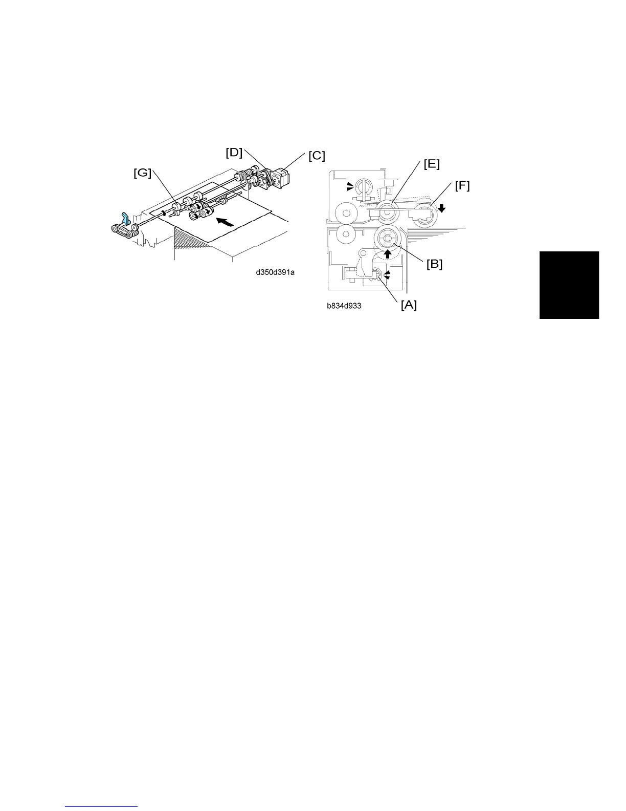
2.2.3 PAPER SEPARATION
When a paper feed station is not selected:
Separation roller solenoid [A] is de-activated
Separation roller [B] turns freely.
When the paper feed station is selected for a job, the paper feed motor [C] and grip motor
[D] turn on.
When the feed motor [C] turns on, it drives the feed roller [E]. It also drives the pick-up
roller [F] because the pick-up roller is linked to the feed roller by an idle gear.
When the separation solenoid [A] turns on, the separation roller [B] contacts the paper
feed roller [E] and turns with the feed roller, unless more than one sheet of paper is fed.
The three trays of the LCT unit use the standard FRR mechanism.
When the paper feed motor turns on, the pick-up solenoid turns on and the pick-up
roller [F] lowers until it contacts the top sheet of the paper stack and then sends it to
the paper feed and separation rollers.
When the paper feed sensor detects the leading edge of the paper, the paper feed
motor switches off, the pick-up roller lifts, and the grip rollers [G] feed the paper out of
the tray.
CÓPIA NÃO CONTROLADA
CÓPIA NÃO CONTROLADA

Table of Contents

Related product manuals