EasyManua.ls Logo

Ricoh D014 - Page 1602

Ricoh D014
1622 pages
Print Icon
To Next Page IconTo Next Page
To Next Page IconTo Next Page
To Previous Page IconTo Previous Page
To Previous Page IconTo Previous Page
Loading...
Fax Communication Features
SM 201 D356
D356
Fax Option
Type C7500
5.4.2 DOCUMENT SERVER
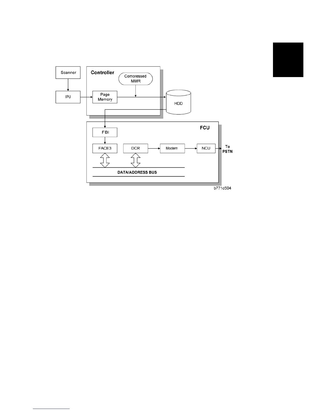
The base copier's scanner scans the original at the selected resolution. The IPU video
processes the data and transfers it to the controller board.
Then the controller stores the data in the page memory for the copier function, and
compresses the data in MMR (by software) to store it in the HDD. If image rotation will be
done, the image is rotated in the page memory before compression.
For transmission, the stored image data is transferred to the FCU. The FCU decompresses
the image data, then recompresses and/or reduces the data if necessary for transmission.
The NCU transmits the data to the line.
The documents can be stored in the HDD (Document Server) from the fax application. The
stored documents in the document sever can be used for the fax transmission in many
times. More than one document and the scanned document can be combined into one file
and then the file can be transmitted.
When using the document server, the SAF memory is not used.
The document is compressed with MMR and stored.
Up to 9,000 pages can be stored (1 file: Up to 1,000 pages) from the fax application.
Only stored documents from the fax application can be transmitted.
Scanned documents are given a name automatically, such as “FAX001”. But it is
possible to change the file name, user name and password.
Up to 30 files can be selected at once.
CÓPIA NÃO CONTROLADA
CÓPIA NÃO CONTROLADA

Table of Contents

Related product manuals