EasyManua.ls Logo

Ricoh D014 - Page 209

Ricoh D014
1622 pages
Print Icon
To Next Page IconTo Next Page
To Next Page IconTo Next Page
To Previous Page IconTo Previous Page
To Previous Page IconTo Previous Page
Loading...
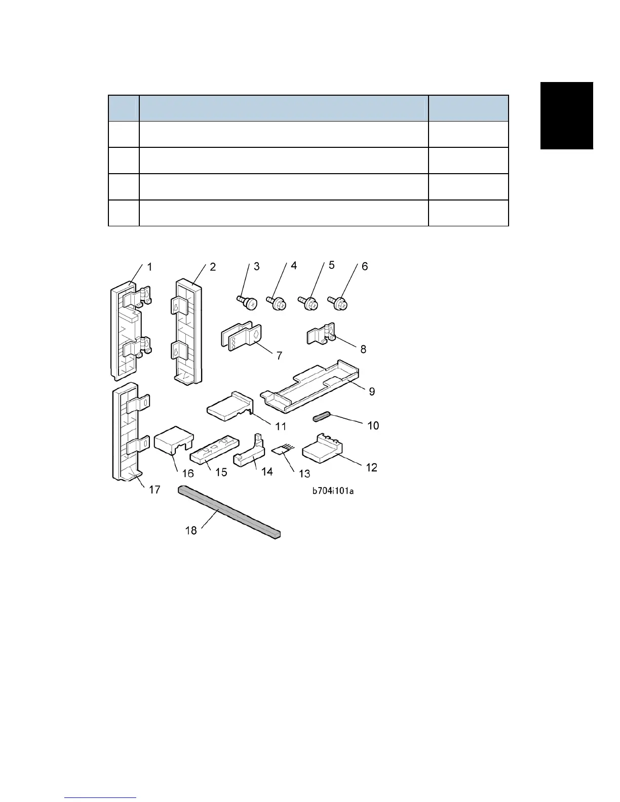
Cover Interposer Tray (B704)
SM 1-117 D014/D015/D078/D079
Installation
Description Q'ty
15. Spacer (Not used )
1
16. Right front corner plate (for B706 only) 2
17. Front door extension (bottom) 1
18, Sponge Strip 1
CÓPIA NÃO CONTROLADA
CÓPIA NÃO CONTROLADA

Table of Contents

Related product manuals