EasyManua.ls Logo

Ricoh D014 - Page 976

Ricoh D014
1622 pages
Print Icon
To Next Page IconTo Next Page
To Next Page IconTo Next Page
To Previous Page IconTo Previous Page
To Previous Page IconTo Previous Page
Loading...
Image Transfer
D014/D015/D078/D079 6-72 SM
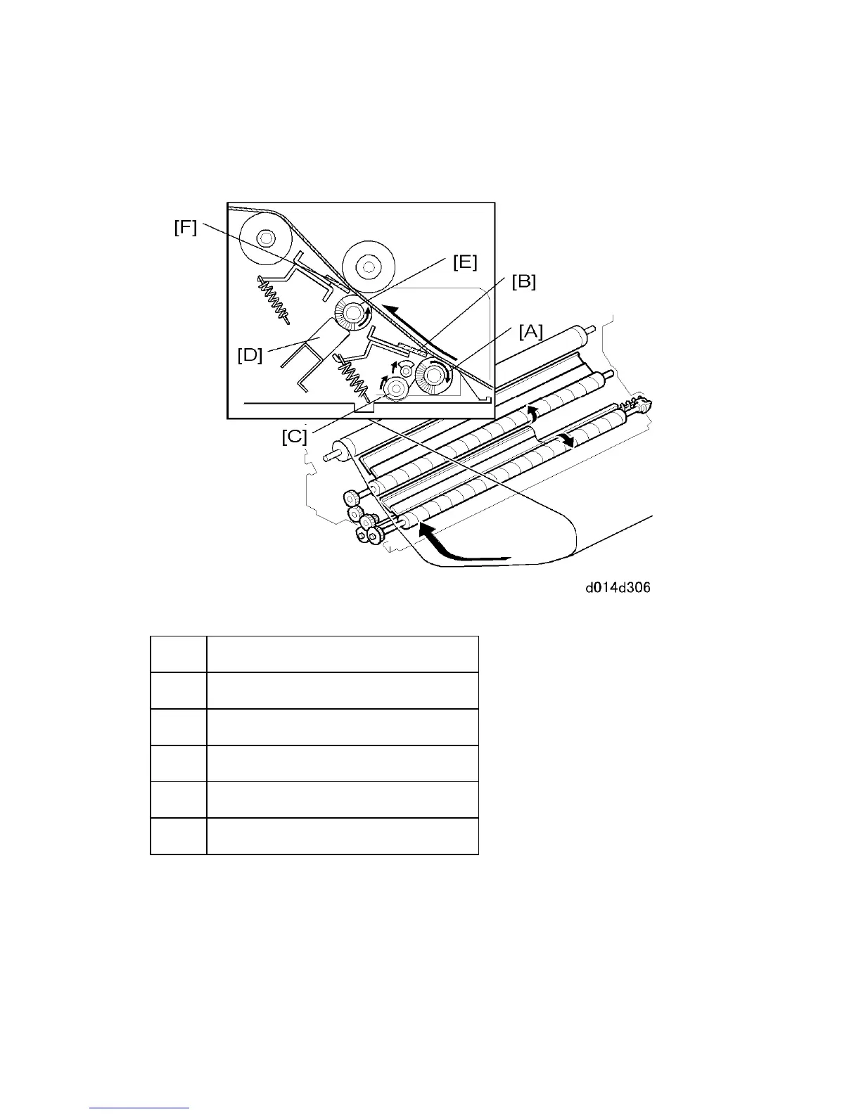
6.9.5 ITB CLEANING
[A] ITB brush cleaning roller
[B] ITB cleaning blade
[C] Toner collection coil
[D] Lubrication Bar
[E] Lubricant Brush Roller
[F] Lubricant Blade
CÓPIA NÃO CONTROLADA
CÓPIA NÃO CONTROLADA

Table of Contents

Related product manuals