EasyManua.ls Logo

Ricoh D014 - Page 1218

Ricoh D014
1622 pages
Print Icon
To Next Page IconTo Next Page
To Next Page IconTo Next Page
To Previous Page IconTo Previous Page
To Previous Page IconTo Previous Page
Loading...
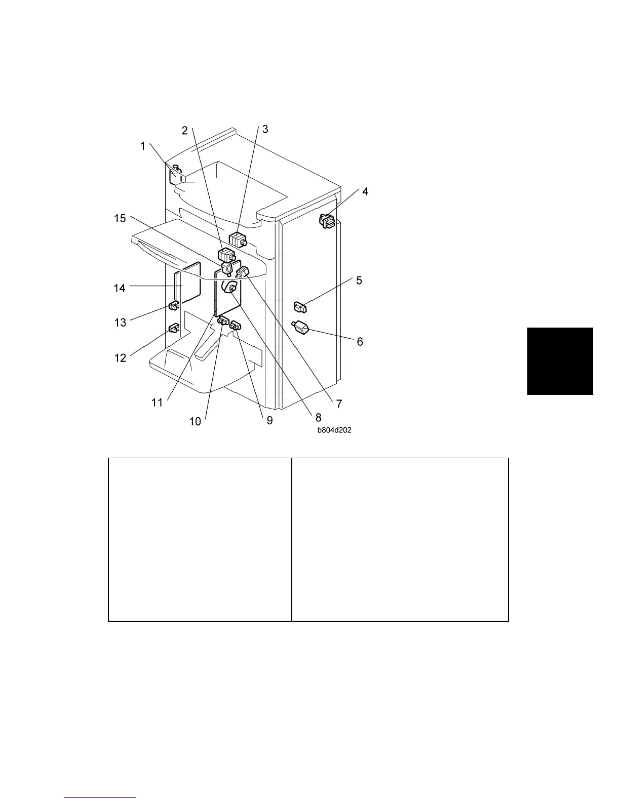
Component Layout
SM 25 B804/B805/D373/D374
Booklet
Finisher/
Finisher
B804/B805/
D373/D374
Lower Area B804/B805
1. Upper Tray Lift Motor (M21)
2. Lower Transport Motor (M3)
3. Entrance Motor (M1)
4. Front Door Safety Switch (SW1)
5. Pre-Stack Tray Exit Sensor (S2)
6. Stapling Edge Pressure Plate
Solenoid (SOL4)
7. Positioning Roller Solenoid (SOL3)
8. Positioning Roller Motor (M14)
9. Lower Tray Full Sensor – Front (S34)*
1
10. Lower Tray Full Sensor – Rear (S33)*
1
11. Main Board (PCB1)
12. Upper Tray Full Sensor – (S20) *
2
13. Upper Tray Full Sensor – (S19)
14. Booklet Stapler Board (PCB2)*
1
15. Booklet Pressure Roller Solenoid – (SOL5)
*
1
*
1
: B804 Only, *
2
: B805 Only
CÓPIA NÃO CONTROLADA
CÓPIA NÃO CONTROLADA

Table of Contents

Related product manuals