EasyManua.ls Logo

Ricoh D014 - Page 1407

Ricoh D014
1622 pages
Print Icon
To Next Page IconTo Next Page
To Next Page IconTo Next Page
To Previous Page IconTo Previous Page
To Previous Page IconTo Previous Page
Loading...
Installation
D356 6 SM
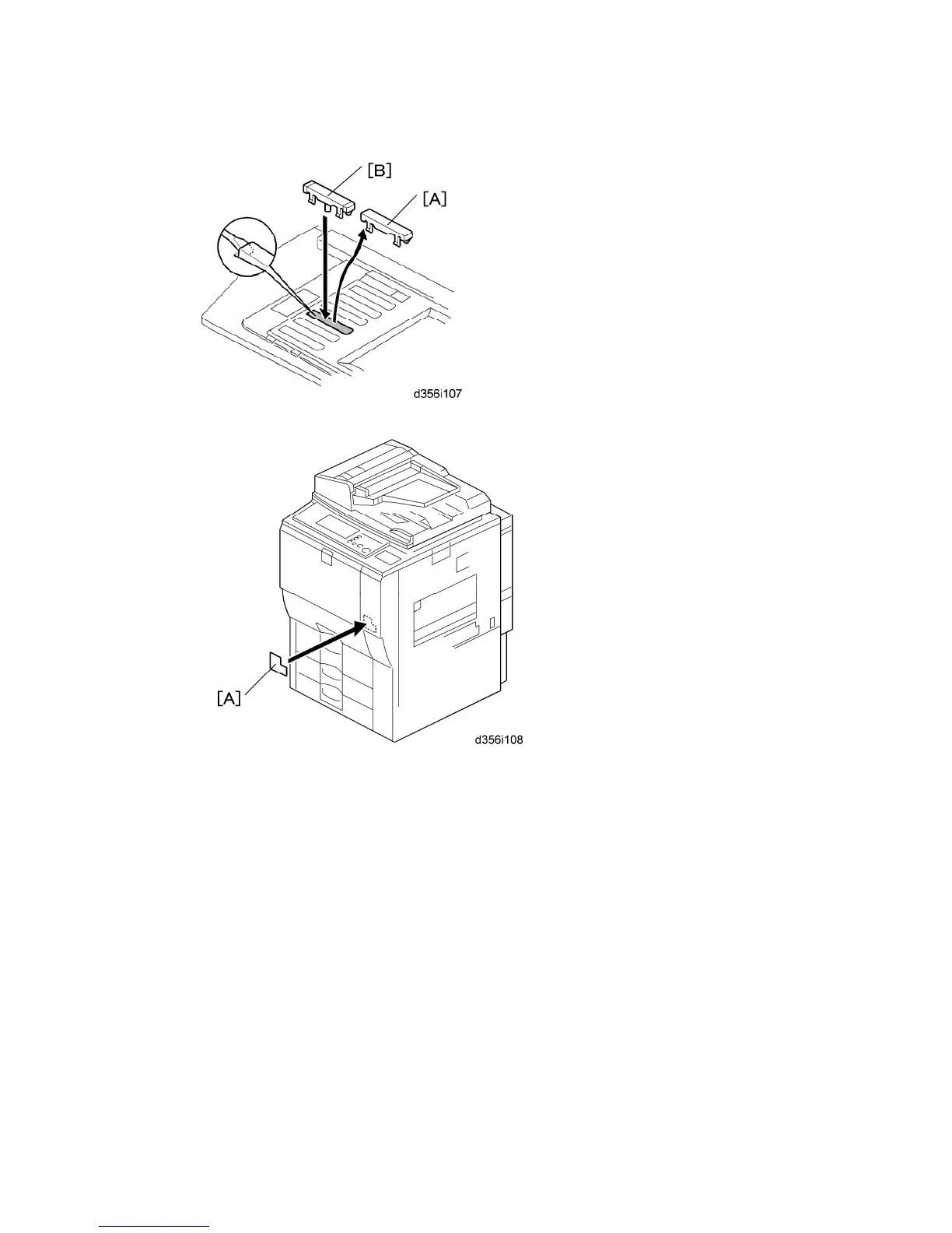
3. Replace the key slot cover [A] (fourth from the bottom) with the fax key [B].
4. Attach:
SUPER G3 decal [A]
Serial number decal under machine serial number decal
Numeric key decal on the operation panel keypad (for AA only)
5. Attach the FCC decal on the rear cover of the copier (NA only).
6. Confirm that the machine is grounded correctly at the power source.
7. Switch on the machine and confirm that it is operating correctly.
8. Confirm that the date and time settings (User Tools) are correct.
9. Keep the EMC address decal at the customer site.
CÓPIA NÃO CONTROLADA
CÓPIA NÃO CONTROLADA

Table of Contents

Related product manuals