EasyManua.ls Logo

Ricoh D014 - Page 172

Ricoh D014
1622 pages
Print Icon
To Next Page IconTo Next Page
To Next Page IconTo Next Page
To Previous Page IconTo Previous Page
To Previous Page IconTo Previous Page
Loading...
2000/3000 Sheet Finishers (D373/D374)
D014/D015/D078/D079 1-80 SM
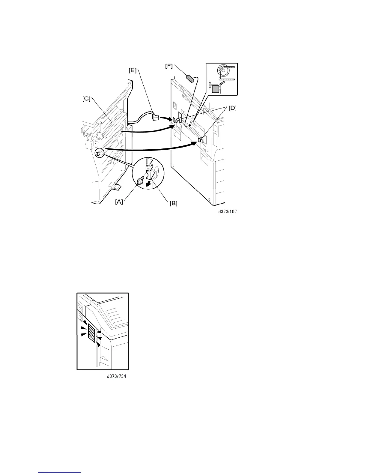
3. Remove the screw [A] to release the lock lever [B] ( x 1).
4. Slowly push the finisher against the side of the machine until the brackets [D] go into
their slots. If you do this too quickly, you will bend and cause damage to the
paper-entrance guide plates [C].
5. Attach and tighten the screw removed in Step 4.
6. Connect finisher connector [E] to the main frame.
7. Attach the gasket seal [F] as shown.
8. Check the duct on the left side of the machine shown above. Make sure that the
sponge does not block this duct.
CÓPIA NÃO CONTROLADA
CÓPIA NÃO CONTROLADA

Table of Contents

Related product manuals