EasyManua.ls Logo

Lanier Copier System Edition - Display Panel; Displays and Key Operations

Default Icon
1270 pages
Print Icon
To Next Page IconTo Next Page
To Next Page IconTo Next Page
To Previous Page IconTo Previous Page
To Previous Page IconTo Previous Page
Loading...
8
Display Panel
The display panel shows the status of the machine, error messages and function menus.
Important
Do not apply a strong shock or force of about 30 N (about 3 kgf ) or more to
the display panel. If you do, the display can be damaged.
*1
N = Newton
*2
Kgf = Kilogram force (1 kgf 9.8 N)
Note
The function items displayed serve as selector keys. You can select or specify
an item by lightly pressing it.
When you select or specify an item on the display panel, it is highlighted like
.
Keys appearing as cannot be used.
Displays and Key Operations
Note
The following illustrations are examples for a machine with the optional 2
Tray Finisher, paper bank, duplex unit and hard disk unit (40 GB) installed.
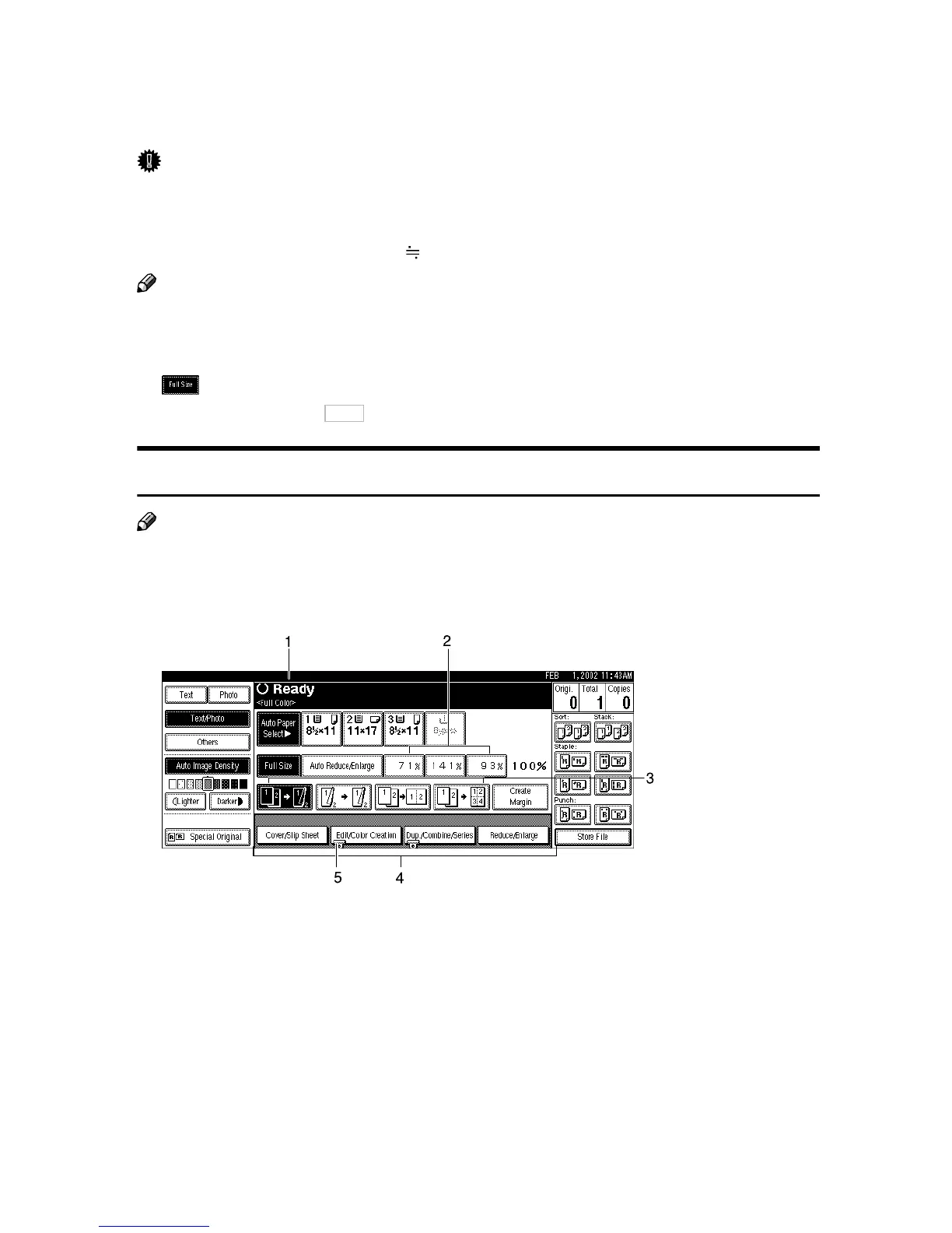
Initial copy display (Full Color/Black & White/Two-Color)
1. Displays the operational status,
selected color mode, or messages.
2. You can register up to three fre-
quently used reduce/enlarge ratios
other than the fixed reduce/enlarge
ratios.
“Shortcut R/E”, Advanced
Features manual
3. Displays the contents of the
Shortcut keys. You can register fre-
quently used functions in these
keys.
“Copy Function Key: F1–
F5”, Advanced Features manual
4. Shows the available functions.
Press a function name to display its
menu. For example, press [Reduce/En-
large] to bring up the Reduce/Enlarge
menu.
5. A clip mark appears for a current-
ly set function.
OK

Table of Contents

Related product manuals