EasyManua.ls Logo

ABB AC500 PLC - Page 1270

ABB AC500 PLC
1315 pages
Print Icon
To Next Page IconTo Next Page
To Next Page IconTo Next Page
To Previous Page IconTo Previous Page
To Previous Page IconTo Previous Page
Loading...
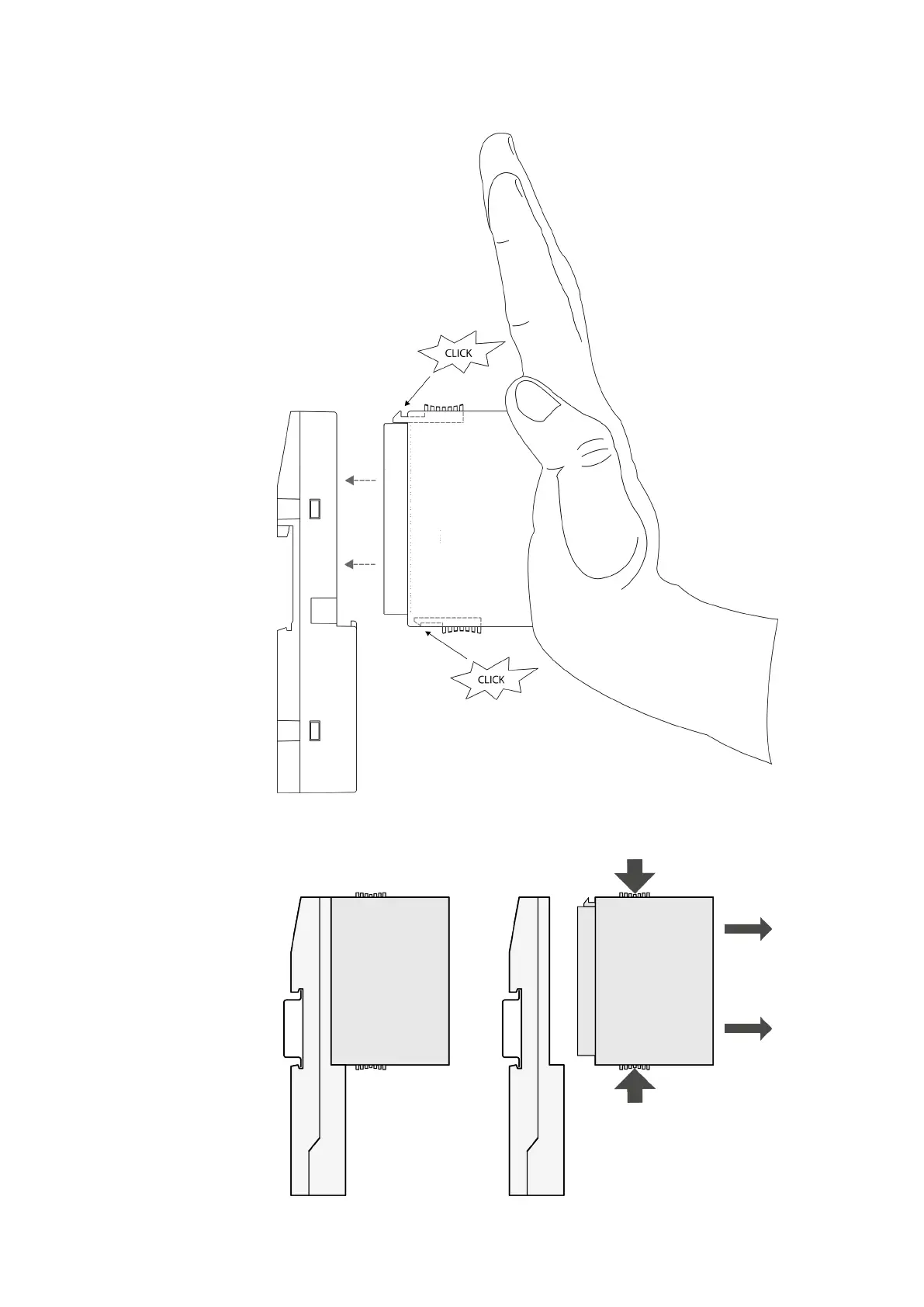
1. Press the I/O Module into the Terminal Unit until it locks in place.
2. The demounting is carried out in a reversed order.
Press above and below, then remove the module.
System Assembly, Construction and Connection
AC500 (Standard) > Mounting and Demounting
2019/04/173ADR010121, 13, en_US1270

Table of Contents

Related product manuals