EasyManua.ls Logo

ABB AC500 PLC - 2.6.3.6 Mounting and Demounting the Communication Modules

ABB AC500 PLC
1315 pages
Print Icon
To Next Page IconTo Next Page
To Next Page IconTo Next Page
To Previous Page IconTo Previous Page
To Previous Page IconTo Previous Page
Loading...
2.6.3.6 Mounting and Demounting the Communication Modules
Communication Modules are mounted on the left side of the Processor Module on the same
Terminal Base. The electrical connection is established automatically when mounting the Com-
munication Module.
NOTICE!
Risk of damaging the PLC modules!
Overvoltages and short circuits might damage the PLC modules.
Make sure that all voltage sources (supply and process voltage) are
switched off before you begin with operations at the system.
Never connect any voltages or signals to reserved terminals (marked with
---). Reserved terminals may carry internal voltages.
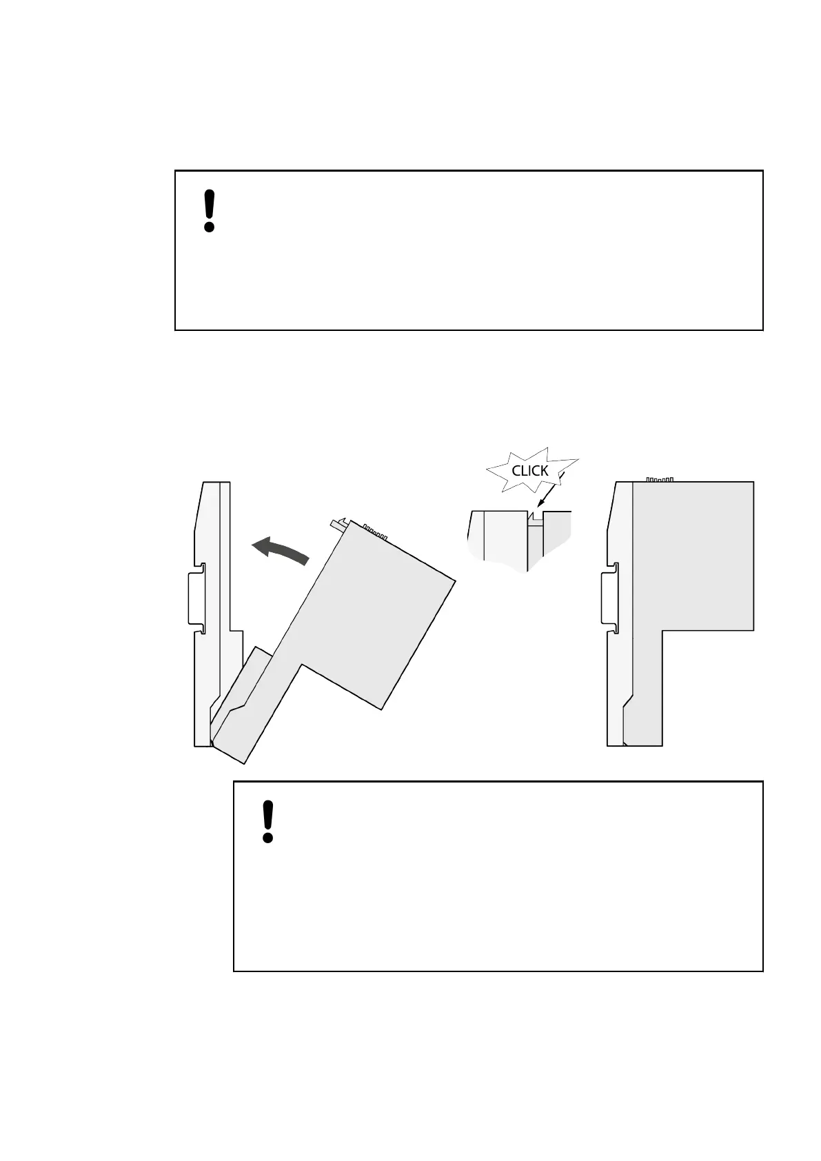
After mounting the Terminal Base, mount the Communication Modules.
1. First insert the bottom nose of the Communication Module into the dedicated holes of the
Terminal Base. Then, rotate the Communication Module on the dedicated Terminal Base
slot until it is locked in place.
ð
NOTICE!
Risk of malfunctions!
Unused slots for communication modules are not protected against
accidental physical contact.
Unused slots for communication modules must be covered with
dummy communication modules (TA524
Ä
Chapter 2.6.5.4
“TA524 - Dummy Communication Module” on page 1304 to ach-
ieve IP20 rating.
I/O bus connectors must not be touched during operation.
System Assembly, Construction and Connection
AC500 (Standard) > Mounting and Demounting
2019/04/17 3ADR010121, 13, en_US 1271

Table of Contents

Related product manuals