EasyManua.ls Logo

ABB AC500 PLC - Connection of Thermocouples

ABB AC500 PLC
1315 pages
Print Icon
To Next Page IconTo Next Page
To Next Page IconTo Next Page
To Previous Page IconTo Previous Page
To Previous Page IconTo Previous Page
Loading...
UP
ZP
1.2
I1-
1.3
I1B
1.8
UP
1.9
ZP
1.0
I0-
1.1
I0B
PTC
2.2
I1+
2.3
I1A
2.8
UP
2.9
ZP
2.0
I0+
2.1
I0A
-50 ... +50 mV
-500 ... +500 mV
-1 ... +1 V
-5 ... +5 V
-10 ... +10 V
0 ... +5 V
0 ... +10 V
1)
-50 ... +50 mV
-500 ... +500 mV
-1 ... +1 V
-5 ... +5 V
-10 ... +10 V
0 ... +5 V
0 ... +10 V
0 V
<= 10 V
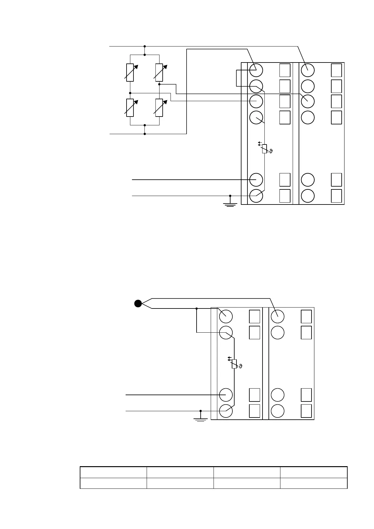
Fig. 56: Connection example
1 Bridge to IxB necessary with electrically isolated supply
All voltage measuring ranges can be configured
Ä
Chapter 1.5.2.2.2.6 “Parameterization”
on page 489 .
The calculation of the resistor deviation must be performed via the bridge voltage by the PLC
user program.
Connection of Thermocouples
PTC
1.0
I0-
1.1
I0B
1.8
UP
1.9
ZP
2.0
I0+
2.1
I0A
2.8
UP
2.9
ZP
ZP
UP
Fig. 57: Connection example
The following measuring ranges can be configured
Ä
Chapter 1.5.2.2.2.6 “Parameterization”
on page 489 :
J type -210 °C...1200 °C Fe-CuNi 1 channel used
K type -270 °C...1372 °C Ni-CrNi 1 channel used
Device Specifications
I/O Modules > Analog I/O Modules
2019/04/17 3ADR010121, 13, en_US 487

Table of Contents

Related product manuals