EasyManua.ls Logo

ABB AC500 PLC - Connection of Analog Output Loads (Voltage)

ABB AC500 PLC
1315 pages
Print Icon
To Next Page IconTo Next Page
To Next Page IconTo Next Page
To Previous Page IconTo Previous Page
To Previous Page IconTo Previous Page
Loading...
2.0
AI0+
2.1
AI1+
2.2
AI2+
2.3
AI3+
2.4
AI-
2.5
AO0+
2.6
AO1+
2.7
AO-
2.8
UP
2.9
ZP
24 V DC
-
+
The following measuring ranges can be configured
Ä
Chapter 1.7.5.1.7 “Parameterization”
on page 960:
Digital input 24 V 1 channel used
The function of the LEDs is described under Diagnosis and displays / Displays
Ä
Chapter
1.7.5.1.9 “State LEDs” on page 970.
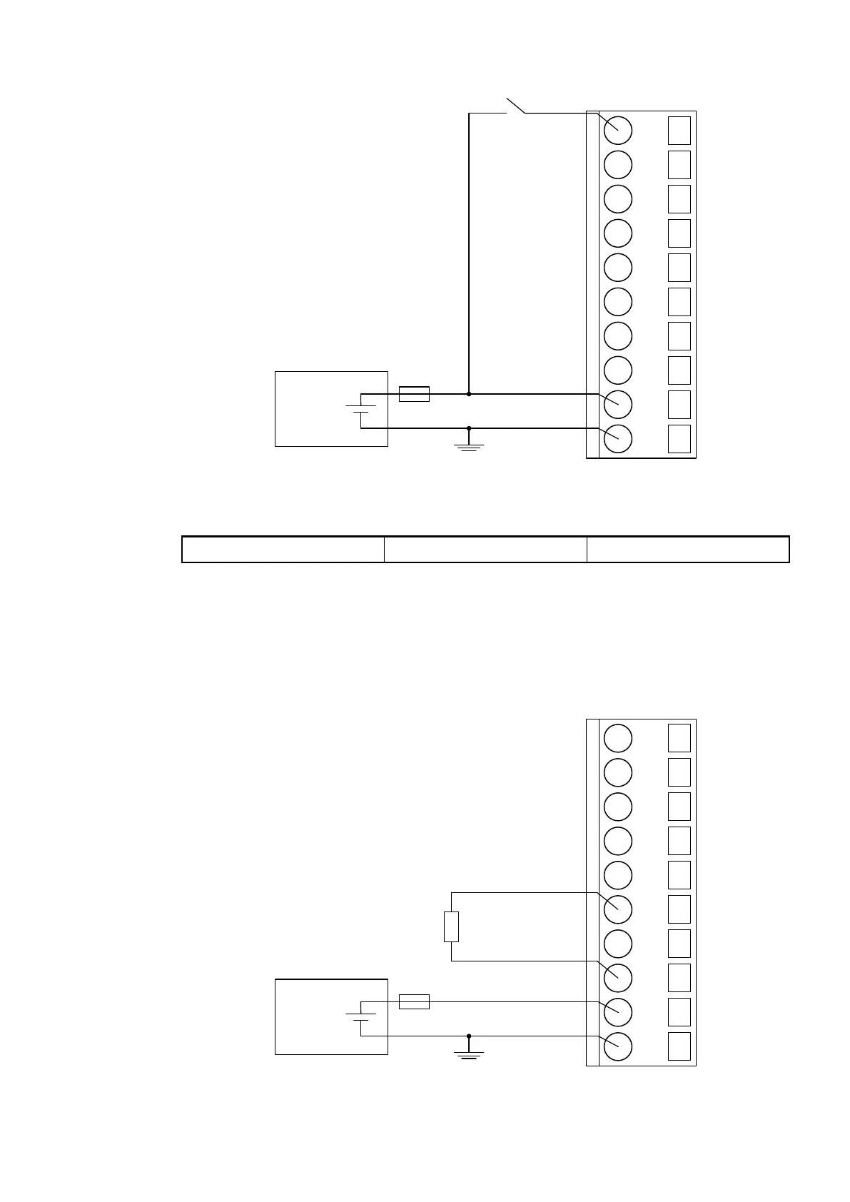
Connection of Analog Output Loads (Voltage)
The following figure shows the connection of analog output loads (voltage) to the analog output
AO0. Proceed with the analog output AO1 in the same way.
2.0
AI0+
2.1
AI1+
2.2
AI2+
2.3
AI3+
2.4
AI-
2.5
AO0+
2.6
AO1+
2.7
AO-
2.8
UP
2.9
ZP
24 V DC
-
+
The following measuring ranges can be configured
Ä
Chapter 1.7.5.1.7 “Parameterization”
on page 960:
Device Specifications
Communication Interface Modules (S500) > PROFIBUS
2019/04/173ADR010121, 13, en_US958

Table of Contents

Related product manuals