EasyManua.ls Logo

ABB AC500 PLC - Page 641

ABB AC500 PLC
1315 pages
Print Icon
To Next Page IconTo Next Page
To Next Page IconTo Next Page
To Previous Page IconTo Previous Page
To Previous Page IconTo Previous Page
Loading...
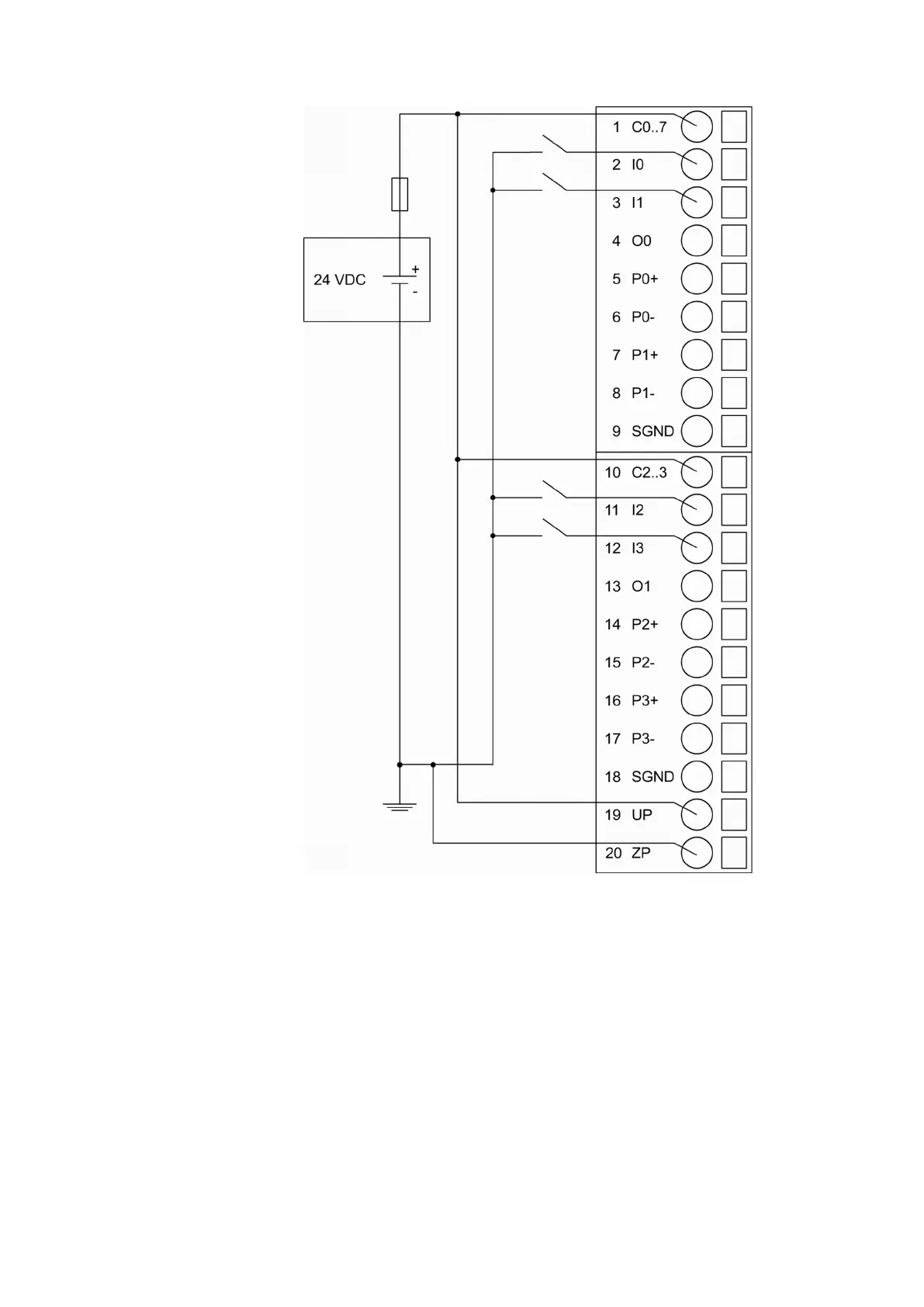
Fig. 106: Electrical connection of inputs to the FM562 - source inputs
The following figure shows the electrical connection of the pulse-train outputs of the FM562 to a
servo amplifier:
Device Specifications
Function Modules > S500-eCo
2019/04/17 3ADR010121, 13, en_US 641

Table of Contents

Related product manuals