EasyManua.ls Logo

ABB AC500 PLC - Page 289

ABB AC500 PLC
1315 pages
Print Icon
To Next Page IconTo Next Page
To Next Page IconTo Next Page
To Previous Page IconTo Previous Page
To Previous Page IconTo Previous Page
Loading...
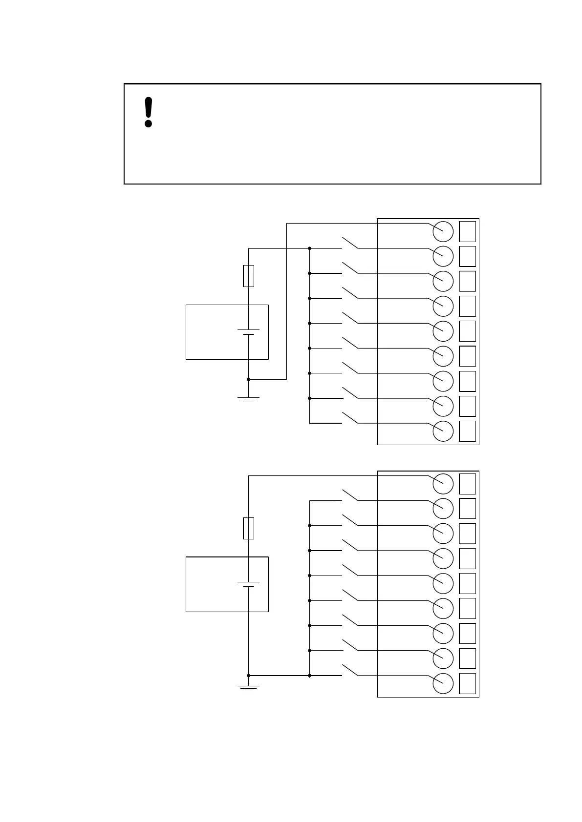
The digital inputs can be used as source inputs or as sink inputs.
NOTICE!
Risk of malfunctions in the plant!
A ground closure, e. g. caused by a damaged cable insulation, can bridge
switches accidentally.
Use sink inputs when possible or make sure that, in case of error, there will be
no risks to persons or plant.
The following figures show the electrical connection of the inputs to the digital input/output
module DX571:
1
2
C0..7
I0
4
I2
24 VDC
+
3
I1
5
I3
6
I4
7
I5
8
I6
9
I7
Fig. 22: Electrical connection of inputs - sink inputs
1
2
C0..7
I0
4
I2
24 VDC
+
3
I1
5
I3
6
I4
7
I5
8
I6
9
I7
Fig. 23: Electrical connection of inputs - source inputs
The following figures show the electrical connection of the outputs to the module:
Device Specifications
I/O Modules > Digital I/O Modules
2019/04/17 3ADR010121, 13, en_US 289

Table of Contents

Related product manuals