EasyManua.ls Logo

ABB AC500 PLC - Page 420

ABB AC500 PLC
1315 pages
Print Icon
To Next Page IconTo Next Page
To Next Page IconTo Next Page
To Previous Page IconTo Previous Page
To Previous Page IconTo Previous Page
Loading...
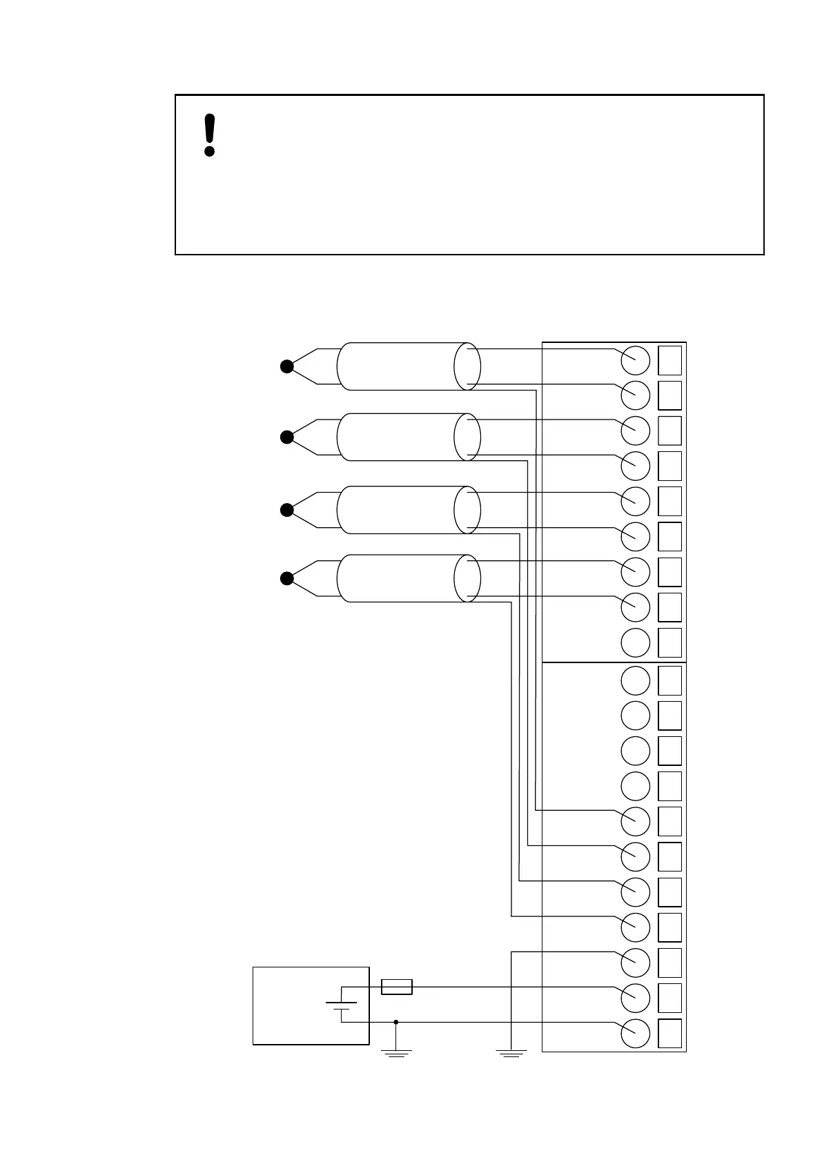
NOTICE!
Risk of damaging the PLC modules!
Overvoltages and short circuits might damage the PLC modules.
Make sure that all voltage sources (supply and process voltage) are
switched off before you begin with operations at the system.
Never connect any voltages or signals to reserved terminals (marked with
---). Reserved terminals may carry internal voltages.
The module provides several diagnosis functions
Ä
Chapter 1.5.2.1.3.6 “Diagnosis”
on page 422.
The following figure shows the electrical connection of thermocouples to the inputs of the
module:
1
2
I0+
I0
4
I1
24 VDC
+
3
I1+
5
I2+
6
I2
7
I3+
8
I3
9
−−−
10
11
−−−
−−−
13
−−−
12
−−−
14
FE
15
FE
16
FE
17
FE
18
FE
19
UP
20
ZP
Device Specifications
I/O Modules > Analog I/O Modules
2019/04/173ADR010121, 13, en_US420

Table of Contents

Related product manuals