EasyManua.ls Logo

Inter-Tel AXXESS - Figure 3-64 BRU Card

Inter-Tel AXXESS
1626 pages
Print Icon
To Next Page IconTo Next Page
To Next Page IconTo Next Page
To Previous Page IconTo Previous Page
To Previous Page IconTo Previous Page
Loading...
Installation
INTER-TEL
®
AXXESS
®
MANUAL VERSION 11.0 May 2008
Page
3-132
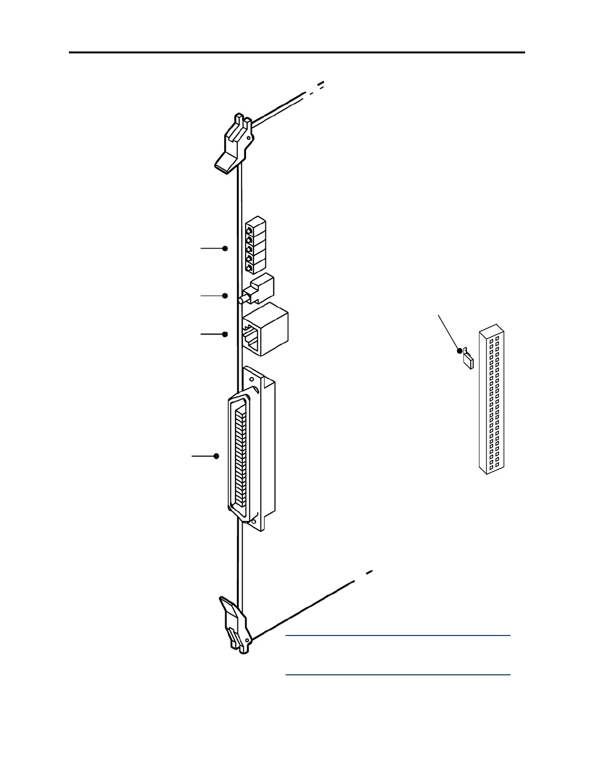
BRU Card
Figure 3-64. BRU Card
NOTE: For purposes of detail, this drawing does not
show the EMI shield attached to the front edge of the
card.
LED INDICATORS
MAKE-BUSY
SWITCH
RS232 PORT
AMPHENOL-TYPE
CONNECTOR
CARD ON LINE
CIRCUIT BUSY
CLOCK REFERENCE
MAKE BUSY
HALTED
J4
WRITE PROTECT JUMPER
(for Boot Code)
LOCK

Table of Contents

Other manuals for Inter-Tel AXXESS

Related product manuals