EasyManua.ls Logo

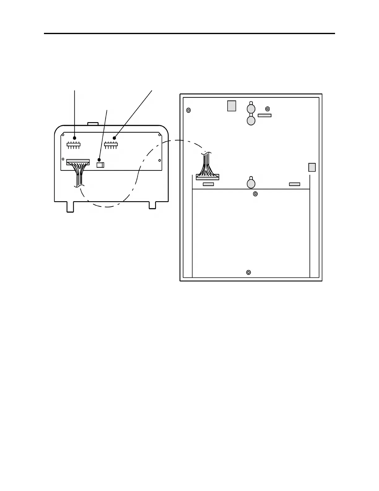
Inter-Tel AXXESS - Figure 3-92 Back of 60-Key, 6-Row Digital DSS;BLF Unit

Inter-Tel AXXESS
1626 pages
Print Icon
To Next Page IconTo Next Page
To Next Page IconTo Next Page
To Previous Page IconTo Previous Page
To Previous Page IconTo Previous Page
Loading...
Installation
INTER-TEL
®
AXXESS
®
MANUAL VERSION 11.0 May 2008
Page
3-204
Back of 60-Key, 6-Row Digital DSS/BLF Unit
Figure 3-92. Back of 60-Key, 6-Row Digital DSS/BLF Unit
BACK OF DIGITAL DSS/BLF UNIT
RS232
CONNECTOR
POWER CONNECTOR
INSIDE OF BASEPLATE
TO PHONE PC DATA
PORT MODULE
RS232
CONNECTOR
TO 2ND DSS/BLF
UNIT, IF INSTALLED
TO AC TRANSFORMER
J1
J2
J3
J4

Table of Contents

Other manuals for Inter-Tel AXXESS

Related product manuals