EasyManua.ls Logo

Inter-Tel AXXESS - Page 628

Inter-Tel AXXESS
1626 pages
Print Icon
To Next Page IconTo Next Page
To Next Page IconTo Next Page
To Previous Page IconTo Previous Page
To Previous Page IconTo Previous Page
Loading...
Page 5-102
System Features
INTER-TEL
®
AXXESS
®
MANUAL VERSION 11.0May 2008
ARS on a Network
ARS on a Network
10.140Each node has its own ARS programming. All trunk groups and nodes in a facility
group must reside on the same node as the facility group.
10.141Using ARS is the only way a user can access trunks on other nodes. If the system
routes an outgoing call to another node using an intermediary node, the intermediary node’s
ARS cannot use the nodes in its facility group to move the outgoing call to another node. This
eliminates the system from getting into an infinite loop searching for a node to route the outgo-
ing call.
10.142When determining toll restriction for an ARS outgoing call, the network checks the sta-
tion toll restriction based on the database information on the node on which the station resides,
not the node that contains the trunk which the system uses to place the call. The system does
not check the trunk COS for ARS calls.
10.143For the purposes of the phone call cost display and SMDR output, the network com-
putes call cost using the factors and rates on the node on which the outgoing trunk resides. In
other words, if a station on Node A dials what is considered a long-distance number on Node
A, and the call is routed to Node B where the number is considered local, the phone will see
the local call cost rate which equals the value on Node B.
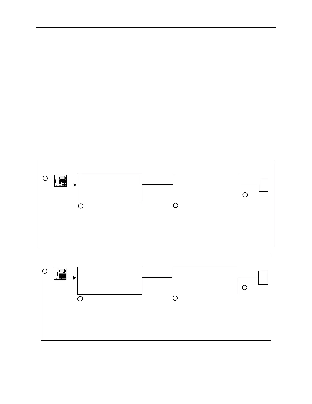
SAMPLE ARS CALL ON A NETWORK FOR THE U.S.
Station user dials
1-602-961-9000
NODE 1
(IN 714 AREA CODE)
NODE 2
(IN 602 AREA CODE)
NODE
ROUTE GROUP
TO NODE 2
Digits sent
1-602-961-9000
LOCAL
TRUNK
ON NODE 1: ARS routes call to Node
2 echoing all of the digits (no other dial
rule modification). Call is sent using
the route group with dial pattern 602+
and the facility group with route to
Node 2.
ON NODE 2: ARS routes call to its Lo-
cal route group (dial pattern 602+) and
uses dial rules to remove the toll field
and area code (use only the Echo Lo-
cal Address dial rule). Call is placed
using an available trunk in the Local
route group’s facility group.
Local call placed
to 961-9000
2
1
3
4
CO
SAMPLE ARS CALL ON A NETWORK FOR EUROPE
Station user dials
0181619000
NODE 1
(IN 01933 STD CODE)
NODE 2
(IN 0181 STD CODE)
NODE
ROUTE GROUP
TO NODE 2
Digits sent
0181619000
LOCAL
TRUNK
ON NODE 1: ARS routes call to Node
2 echoing all of the digits (no other
dial rule modification). Call is sent
using the route group with dial pattern
0181+ and the facility group with a
ON NODE 2: ARS routes call to its
Local route group (dial pattern 0181+)
and uses dial rules to remove the toll
field (use only the Echo Local
Address dial rule). Call is placed
Local call placed
to 619000
2
1
3
4
CO

Table of Contents

Other manuals for Inter-Tel AXXESS

Related product manuals