EasyManua.ls Logo

Toshiba GR200 Series - (iii)-2 Operation of ZG for earth-faults and multi-phase faults

Toshiba GR200 Series
1770 pages
To Next Page IconTo Next Page
To Next Page IconTo Next Page
To Previous Page IconTo Previous Page
To Previous Page IconTo Previous Page
Loading...
6F2S1914 (0.49)
GRL200 (Soft 033 & 037)
- 115 -
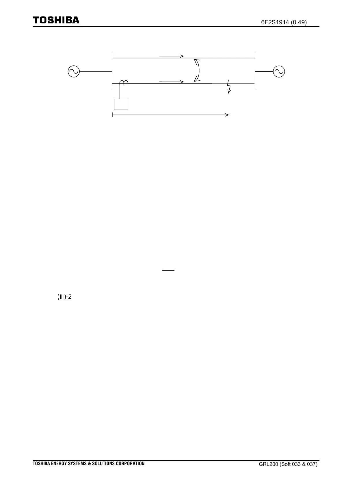
Figure 2.10-23 Earth fault compensation
The Zero-sequence Current Compensation function (ZPCC) controls the zero-sequence
compensation required as a consequence of the influence of the adjacent line in parallel line
applications.
When an earth fault occurs on the protected line, the ZPCC function will operate, in this
case parallel line compensation is performed to prevent under-reach caused by the mutual
zero-sequence current of the adjacent line.
When an earth fault occurs on the adjacent line, the ZPCC function does not operate,
compensation for the adjacent line is not performed to prevent overreach. The operating
condition of the ZPCC function is as follows:




(2.10-35)
Operation of ZG for earth-faults and multi-phase faults
ZG uses an EFL function for the detection of earth faults; hence, ZG will operate when the EFL
function operates. However, the operation of Z*G can be set to be either dependent or
independent of the operation of EFL; that is, On is set for the scheme switch [Z*G-EFL] for the
Z*G operation with EFL and Off is set for the scheme switch [Z*G-EFL] for the Z*G operation
without EFL.
There is a possibility that ZG even operates against a multi-phase fault. Because of the
effect of zero-phase compensation adjustment calculation, ZG elements tends to calculate
overreach (underreach) against a multi-phase fault when the direction of power flow is positive
(negative), it is recommended to make just ZS operate against the multi-phase fault.
ZG elements can be blocked by an operation of a multi-phase (2-phase or 3-phase) earth
fault detection by elements of ZG*COV as shown in scheme logics of the distance protection
element described later.
I
0
I
1
, I
2
, I
0
Z
1
, Z
2
, Z
0
Zom
ZG
Fault
Va

Table of Contents

Related product manuals