EasyManua.ls Logo

Toshiba GR200 Series - 13.5 PWS alarm threshold setting

Toshiba GR200 Series
1770 pages
To Next Page IconTo Next Page
To Next Page IconTo Next Page
To Previous Page IconTo Previous Page
To Previous Page IconTo Previous Page
Loading...
6F2S1914 (0.49)
GRL200 (Soft 033 & 037)
- 1504 -
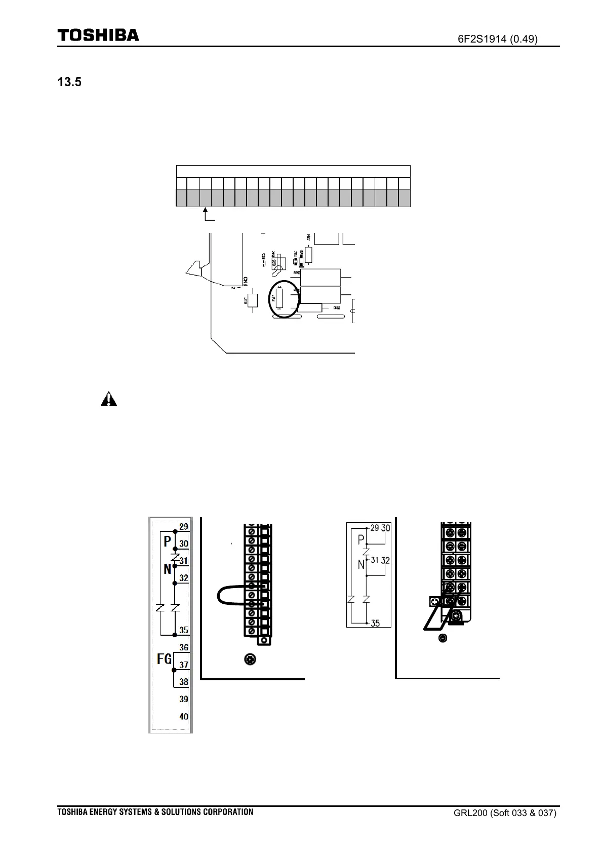
PWS alarm threshold setting
The IED has power supply module (PWS) at the far left slot. The user can confirm DC rated
voltage on the hardware nameplate by checking the cord at Positions 8, but the user should
select either alarm thresholds for dropping DC voltage by inserting a jumper on the PWS
(Figure 13.5-1). See
Section Power supply module
in
Chapter Technical description
.
Ordering positions
7
8
9
A
B
C
D
E
F
G
H
J
K
L
-
x
1
-
x
x
x
-
x
x
-
x
x
-
x
x
-
x
x
x
DC rated voltage, e.g., 1=110 to 250Vdc, selected by the ordering
Figure 13.5-1 Alarm threshold set on PWS module
CAUTION
Note: A short-wire is connected between terminal screws No. 3537 ( No.3536 for type
using the ring terminal). It is done by the manufacturer. The user shall remove
that when the user undertakes the dielectric voltage test for the IED; and the user
shall connect again the terminals with that after the test (See
Appendix: Notes for
the dielectric voltage test
).
Type using compression terminals
Type using ring terminals
29
30
31
32
33
34
35
36
37
38
39
40
FG
Short wire
28
30
32
34
36
38
27
29
31
33
35
FG
Short wire
FG
Figure 13.5-2 PWS terminal labels

Table of Contents

Related product manuals