EasyManua.ls Logo

Texas Instruments TMS570LC4357 - Page 1001

Texas Instruments TMS570LC4357
2208 pages
Print Icon
To Next Page IconTo Next Page
To Next Page IconTo Next Page
To Previous Page IconTo Previous Page
To Previous Page IconTo Previous Page
Loading...
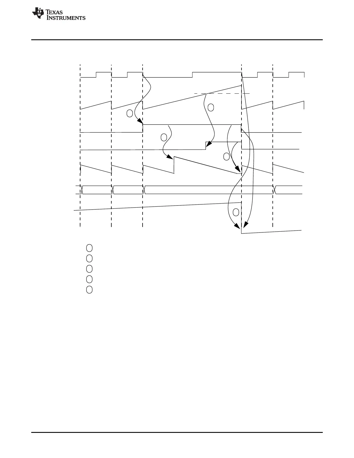
Toothed
wheel
Period
counter
55 56 57 0
T1
T2
T3
T4
T3 > 2 x T2
Gap flag
Criteria flag
Tick counter
P(n-1) T1 T2 T4
ACNT
2
4
3
5
1
1
2
4
3
5
When TCNT = teeth register, the Gap flag is raised
Tick CNT reloads automatically with 2x the step-width because the Gap flag = ’1’
The tick counter is not reloaded because the Criteria flag is raised
If PCNT ( n ) > 2 x PCNT ( n-1 ) and the Gap flag = ’1’ then the Criteria flag is raised
The Gap flag and tooth active edge reset, followed by ACNT
www.ti.com
Angle Functions
1001
SPNU563AMarch 2018
Submit Documentation Feedback
Copyright © 2018, Texas Instruments Incorporated
High-End Timer (N2HET) Module
Figure 23-42. Singularity Check, ACNT Reset and Timing Associated

Table of Contents

Related product manuals