EasyManua.ls Logo

Texas Instruments TMS570LC4357 - Page 2109

Texas Instruments TMS570LC4357
2208 pages
Print Icon
To Next Page IconTo Next Page
To Next Page IconTo Next Page
To Previous Page IconTo Previous Page
To Previous Page IconTo Previous Page
Loading...
SIZE ADDRESS ATA
DATA
DATA
ADDRESS
BASEADDR
SIZE
To Main SCR
Control
SIZESTATDEST ADDR ATA DATA
31
0
63
0
87 0
Buffer2
Buffer1
Memory protection
(destination registers)
Deserializer
www.ti.com
Overview
2109
SPNU563AMarch 2018
Submit Documentation Feedback
Copyright © 2018, Texas Instruments Incorporated
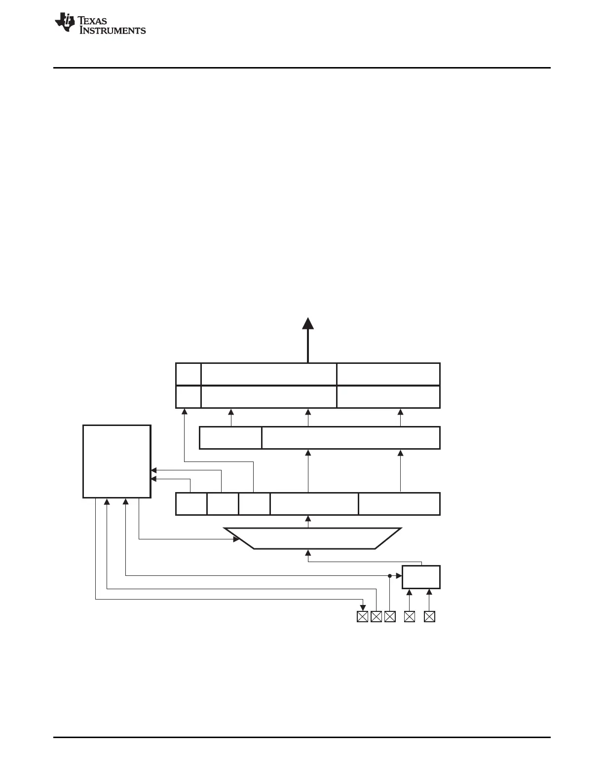
Data Modification Module (DMM)
36.1 Overview
36.1.1 Features
The DMM module has the following features:
Acts as a bus master, thus enabling direct writes to the 4GB address space without CPU intervention
Writes to memory locations specified in the received packet (leverages packets defined by trace mode
of the RAM trace port (RTP) module
Writes received data to consecutive addresses, which are specified by the DMM module (leverages
packets defined by direct data mode of RTP module)
Configurable port width (1, 2, 4, 8, 16 pins)
Up to 100 Mbit/s pin data rate
Unused pins configurable as GIO pins
36.1.2 Block Diagram
Figure 36-1 shows the block diagram for the DMM.
Figure 36-1. DMM Block Diagram

Table of Contents

Related product manuals