EasyManua.ls Logo

Renesas RX Series - Page 948

Renesas RX Series
1823 pages
Print Icon
To Next Page IconTo Next Page
To Next Page IconTo Next Page
To Previous Page IconTo Previous Page
To Previous Page IconTo Previous Page
Loading...
R01UH0823EJ0100 Rev.1.00 Page 948 of 1823
Jul 31, 2019
RX23W Group 32. USB 2.0 Host/Function Module (USBc)
(1) Counter Initialization When the Function Controller is Selected
The interval counter is initialized when the MCU is reset or when the PIPEnCTR.ACLRM bit is set to 1. Note that the
PIPEPERI.IITV[2:0] bits are not initialized when the ACLRM bit is used for initialization.
After the interval counter has been initialized, counting is started under either of the following conditions 1 and 2 when a
packet has been transferred successfully.
1. An SOF is received after transmission of data in response to an IN token while the PID[1:0] bits are 01b (BUF).
2. An SOF is received after reception of data of an OUT token while the PID[1:0] bits are 01b (BUF).
Note that the interval counter is not initialized under the following conditions.
When the PID[1:0] bits are set to 00b (NAK) or 1xb (STALL)
The interval timer does not stop. The USB attempts transactions at the subsequent interval.
When the USB bus is reset or USB is suspended
The IITV[2:0] bits are not initialized. When an SOF has been received, counting is restarted from the value prior to
the reception of the SOF.
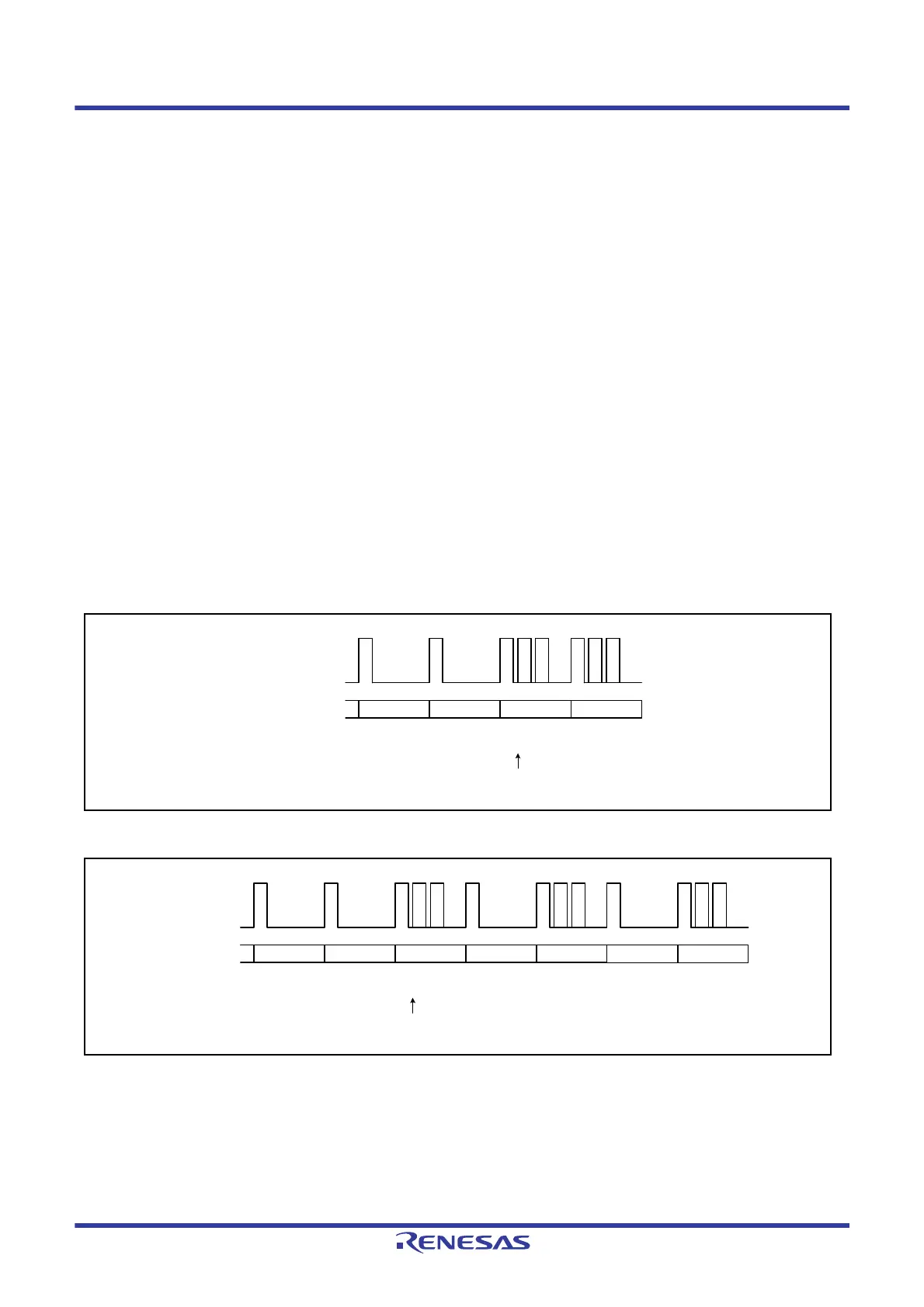
(2) Interval Counting and Transfer Control When the Host Controller is Selected
The USB controls the interval between token issuance operations based on the PIPEPERI.IITV[2:0] bit settings.
Specifically, the USB issues a token for a selected pipe once every 2
IITV[2:0]
frames.
The USB starts counting the token issuance interval at the frame following the frame in which the PID[1:0] bits have
been set to 01b (BUF) by software.
Figure 32.14 Token Issuance When IITV[2:0] = 000b
Figure 32.15 Token Issuance When IITV[2:0] = 001b
SOF
OUT
DATA
OUT
DATA
USB bus
PID bit setting
Token
NAK BUF BUF BUF
Token
not issued
Interval counter started
Token
not issued
Token
issued
Token
issued
SOF
SOF
SOF
USB bus
PID bit setting
Token
NAK BUF BUF BUF
Token
not issued
Interval counter started
BUF BUF BUF
Token
not issued
Token
issued
Token
not issued
Token
issued
Token
not issued
Token
issued
OUT
DATA
OUT
DATA
OUT
DATA
SOF
SOF
SOF
SOF
SOF
SOF
SOF

Table of Contents

Related product manuals