EasyManua.ls Logo

Xerox DocuColor 12/DCCS50 - Page 869

Xerox DocuColor 12/DCCS50
1617 pages
Print Icon
To Next Page IconTo Next Page
To Next Page IconTo Next Page
To Previous Page IconTo Previous Page
To Previous Page IconTo Previous Page
Loading...
1/05
7-19
DocuColor 12/DCCS50
Plug/Jack Locator Diagrams
Wiring Data
Reissue
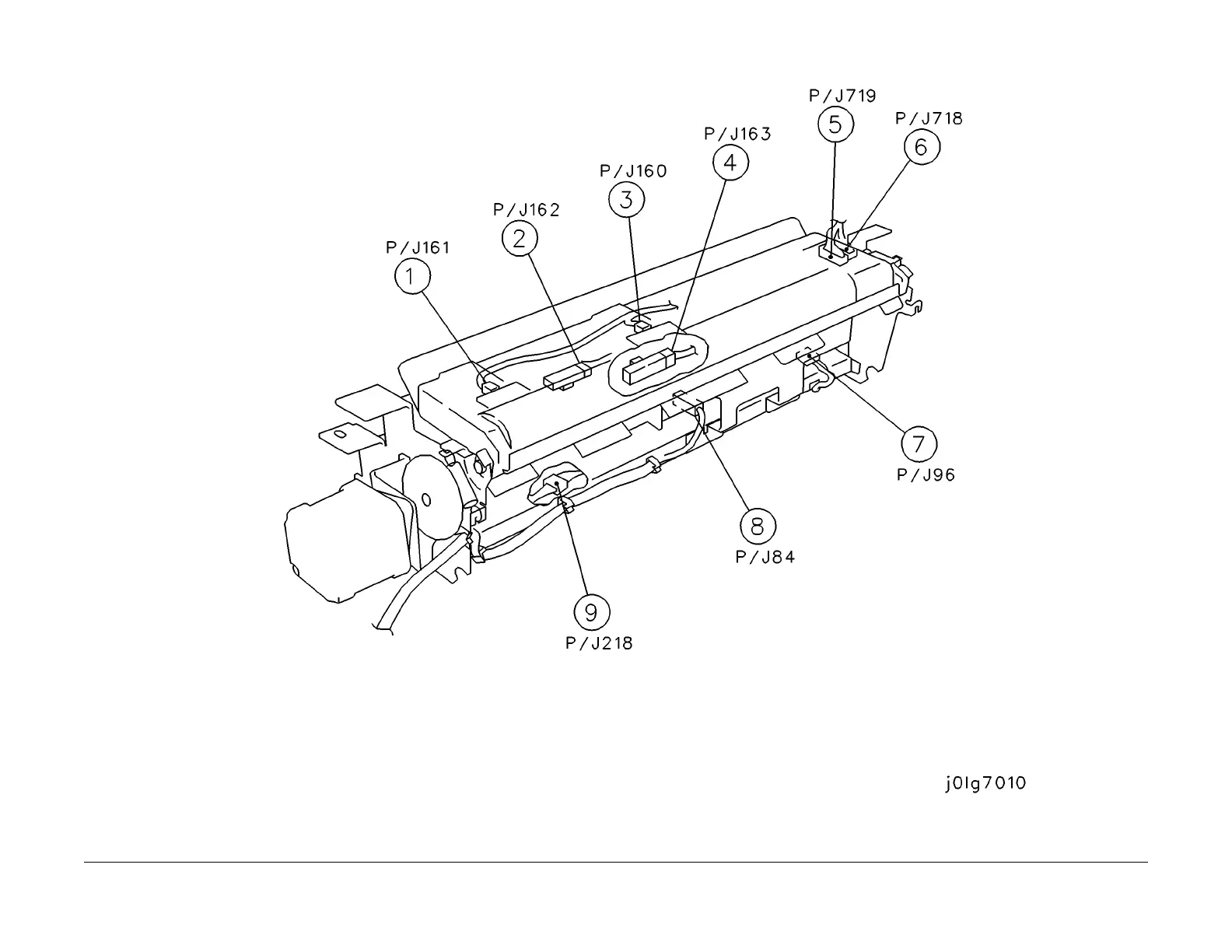
Figure 10 - 7.2.10 Registration

Table of Contents

Related product manuals