EasyManua.ls Logo

Xerox DocuColor 12/DCCS50 - Page 880

Xerox DocuColor 12/DCCS50
1617 pages
Print Icon
To Next Page IconTo Next Page
To Next Page IconTo Next Page
To Previous Page IconTo Previous Page
To Previous Page IconTo Previous Page
Loading...
1/05
7-30
DocuColor 12/DCCS50
Plug/Jack Locator Diagrams
Reissue
Wiring Data
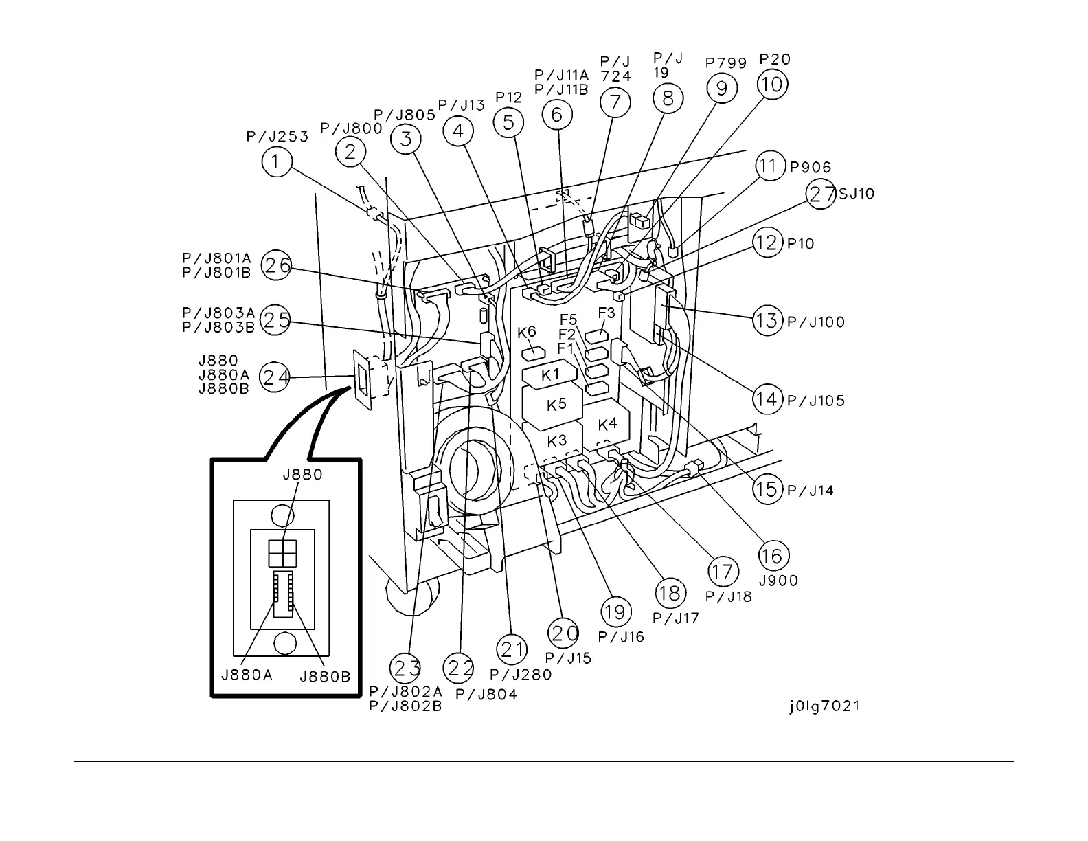
Figure 21 - 7.2.21 AC Drive PWB/Tray PWB/SSR
manuals4you.commanuals4you.com

Table of Contents

Related product manuals