EasyManua.ls Logo

Xerox DocuColor 12/DCCS50 - Page 882

Xerox DocuColor 12/DCCS50
1617 pages
Print Icon
To Next Page IconTo Next Page
To Next Page IconTo Next Page
To Previous Page IconTo Previous Page
To Previous Page IconTo Previous Page
Loading...
1/05
7-32
DocuColor 12/DCCS50
Plug/Jack Locator Diagrams
Reissue
Wiring Data
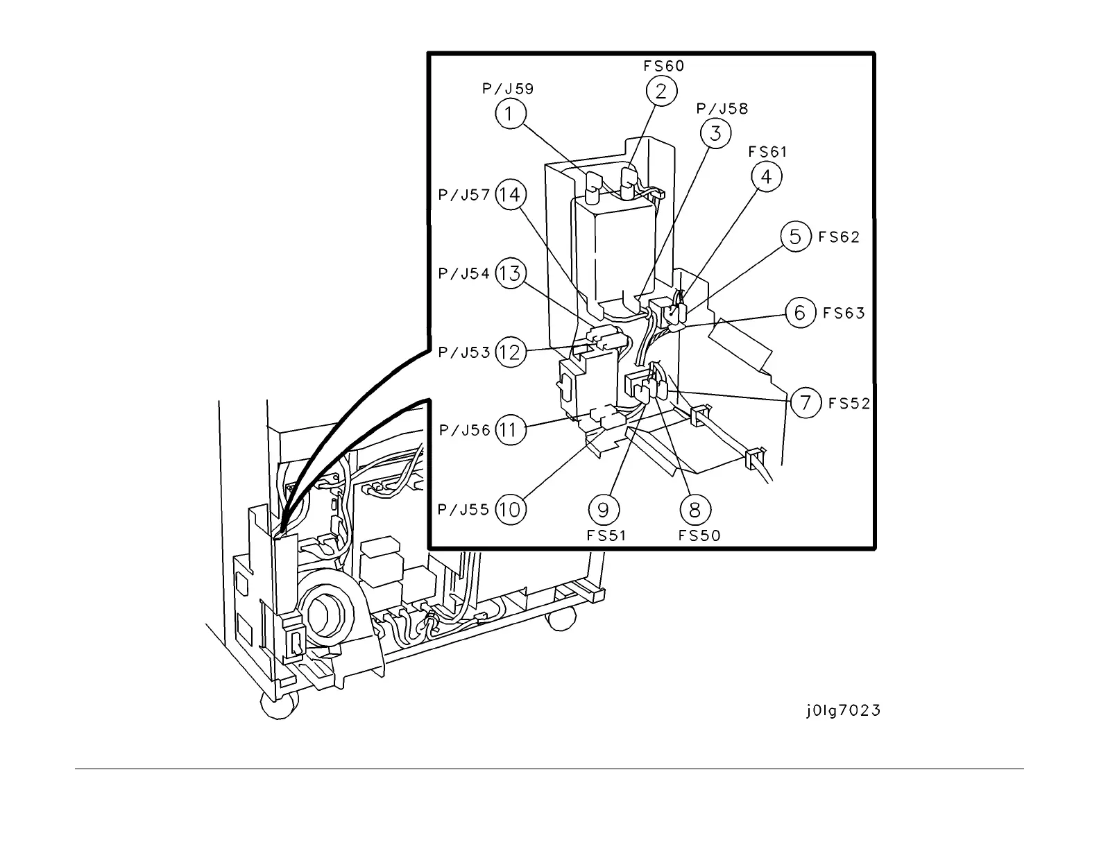
Figure 23 - 7.2.23 Power Chassis
manuals4you.commanuals4you.com

Table of Contents

Related product manuals