EasyManua.ls Logo

Cisco Catalyst 2960 Series - Etherchannel Link Failover

Cisco Catalyst 2960 Series
2288 pages
Print Icon
To Next Page IconTo Next Page
To Next Page IconTo Next Page
To Previous Page IconTo Previous Page
To Previous Page IconTo Previous Page
Loading...
Related Topics
Configuring Layer 2 EtherChannels , on page 342
EtherChannel Configuration Guidelines, on page 338
Default EtherChannel Configuration, on page 337
Layer 2 EtherChannel Configuration Guidelines, on page 340
EtherChannel Link Failover
If a link within an EtherChannel fails, traffic previously carried over that failed link moves to the remaining
links within the EtherChannel. If traps are enabled on the switch, a trap is sent for a failure that identifies the
switch, the EtherChannel, and the failed link. Inbound broadcast and multicast packets on one link in an
EtherChannel are blocked from returning on any other link of the EtherChannel.
Related Topics
Configuring Layer 2 EtherChannels , on page 342
EtherChannel Configuration Guidelines, on page 338
Default EtherChannel Configuration, on page 337
Layer 2 EtherChannel Configuration Guidelines, on page 340
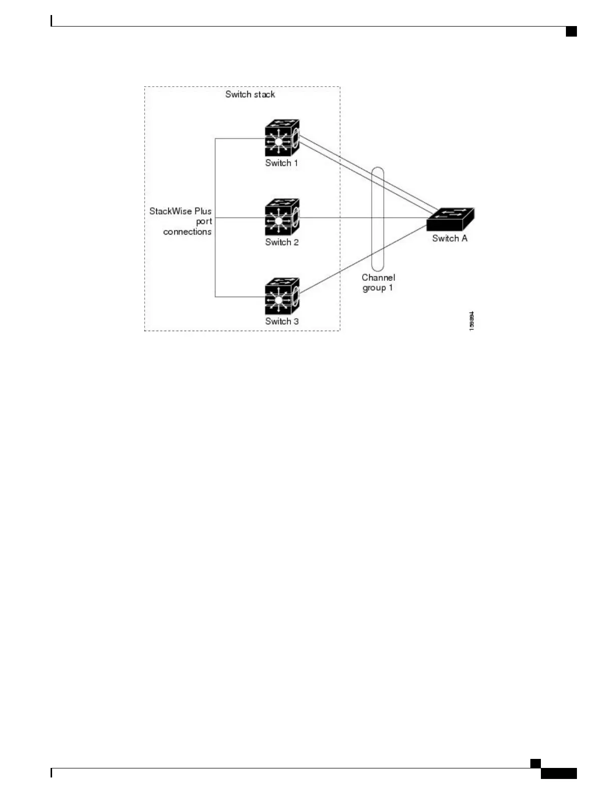
Channel Groups and Port-Channel Interfaces
An EtherChannel comprises a channel group and a port-channel interface. The channel group binds physical
ports to the port-channel interface. Configuration changes applied to the port-channel interface apply to all
the physical ports bound together in the channel group.
Consolidated Platform Configuration Guide, Cisco IOS Release 15.2(4)E (Catalyst 2960-X Switches)
327
Information About EtherChannels

Table of Contents

Other manuals for Cisco Catalyst 2960 Series

Related product manuals